System Management Module 3(SMM3)
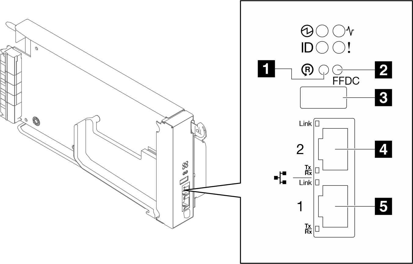
下图显示了 SMM3 模块上的接口和按钮。
SMM3 接口

1 重置按钮:按住该按钮 1 到 4 秒钟,SMM3 将重新启动。按住 4 秒以上,SMM3 将重新启动并加载到默认设置。
2 USB 端口维护模式按钮(FFDC 转储):将 USB 存储设备插入 USB 2.0 接口后,按此按钮可收集 FFDC 日志。
3 USB 2.0 接口:将 USB 存储设备插入此接口,然后按 USB 端口维护模式按钮来收集 FFDC 日志。
4 以太网端口 2:使用此接口可进行 SMM3 管理。
5 以太网端口 1:使用此接口可进行 SMM3 管理。
SMM3 管理模块具有两个以太网端口,支持通过单个以太网连接在 3 个机柜和 48 个节点之间进行菊花链连接,从而大大减少管理包含 SC750 V4 托盘和 N1380 机柜的整个机架所需的以太网交换机端口数量
建议使用 SMM3 以太网端口作为默认专用管理网络。如果需要使用节点正面以太网端口作为专用管理网络,请参阅《XCC 用户指南》以获取网络配置说明。
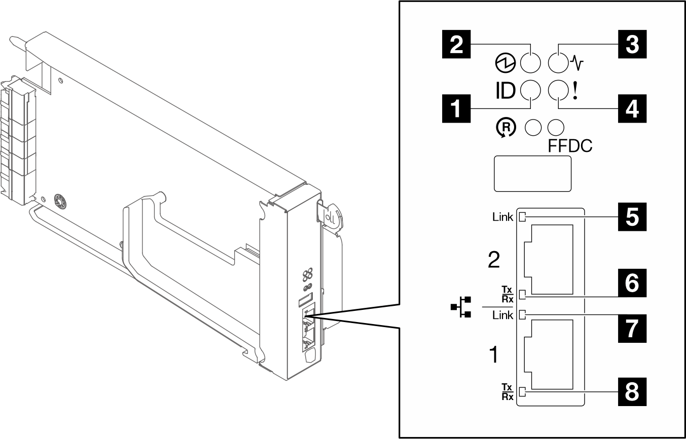
SMM3 LED

| 1 标识 LED(蓝色) | 5 以太网端口 2 链路(RJ-45)LED(绿色) |
| 2 电源 LED(绿色) | 6 以太网端口 2 活动(RJ-45)LED(绿色) |
| 3 状态 LED(绿色) | 7 以太网端口 1 链路(RJ-45)LED(绿色) |
| 4 检查日志 LED(黄色) | 8 以太网端口 1 活动(RJ-45)LED(绿色) |
1 标识 LED:此 LED 点亮(蓝色)时,表示机架中机柜的位置。
2 电源 LED:此 LED 点亮(绿色)时,表示 SMM3 已通电。
持续点亮:SMM3 遇到了一个或多个问题。
熄灭:在机柜通电的情况下,指示 SMM3 遇到了一个或多个问题。
- 闪烁:SMM3 正在工作。
在预引导过程中,LED 以 1 Hz 的频率闪烁,然后保持常亮。
LED 以 1 Hz 频率闪烁:SMM3 硬件正在工作并准备好初始化。
LED 常亮:SMM3 正在初始化。
预引导过程和初始化完成后,如果 SMM3 正常工作,LED 将以 1 Hz(每秒 1 次)的频率闪烁。
4 检查日志 LED:此 LED 点亮(黄色)时,表示发生了系统错误。请查看 SMM3 事件日志以获取其他信息。
5 以太网端口 2 链路(RJ-45)LED:此 LED 点亮(绿色)时,表示存在通过远程管理和控制台(以太网)端口 2 到管理网络的活动连接。
6 以太网端口 2 活动(RJ-45)LED:此 LED 闪烁(绿色)时,表示通过远程管理和控制台(以太网)端口 2 在管理网络上有活动。
7 以太网端口 1 链路(RJ-45)LED:此 LED 点亮(绿色)时,表示存在通过远程管理和控制台(以太网)端口 1 到管理网络的活动连接。
8 以太网端口 1 活动(RJ-45)LED:此 LED 闪烁(绿色)时,表示通过远程管理和控制台(以太网)端口 1 在管理网络上有活动。