安装水循环模块
按以下信息将水循环模块安装到托盘上。
关于本任务
适用于 PH 1、PH 2、T10、T20 和 T30 螺钉的螺丝刀
Waterloop Service Kit (SC750 V4) (维护套件中的水循环模块载板可重复使用,建议将其留在服务器运行的场所,以备将来更换时使用。)
Up VR Gap Pad Kit (SC750 V4)
MID E3.S TOP Gap Pad (SC750 V4) (如果装有 E3.S 中间硬盘)。
MID E3.S BOT Gap Pad (SC750 V4) (如果装有 E3.S 中间硬盘)。
Storage Gap Pad Kit (SC750 V4) (如果装有 E3.S 正面硬盘)。
Storage Gap Pad Kit (SC750 V4) (如果装有 E3.S 1T 双正面硬盘或 E3.S 2T 单正面硬盘)。
CX7 NDR200 Gap Pad (SC750 V4) (如果装有 ConnectX-7 NDR 200 适配器)。
CX7 Gap Pad (SC750 V4) (如果装有 ConnectX-7 NDR 400 适配器)。



有关间隙垫的位置和说明,请参阅间隙垫识别和位置。
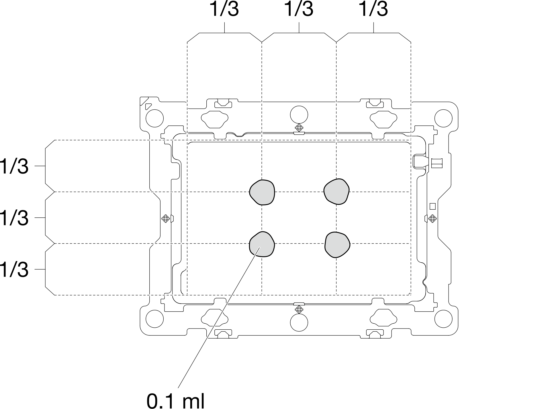
在更换间隙垫之前,请使用酒精清洁垫轻轻地清洁表面。
小心地握住间隙垫,以免变形。确保间隙垫材料不会遮挡螺钉孔或开口。
- 关于此过程的视频请见 YouTube。
过程
确保遵循间隙垫更换准则。
确保遵循间隙垫更换准则。
确保遵循间隙垫更换准则。
确保遵循间隙垫更换准则。
确保遵循间隙垫更换准则。
确保遵循间隙垫更换准则。
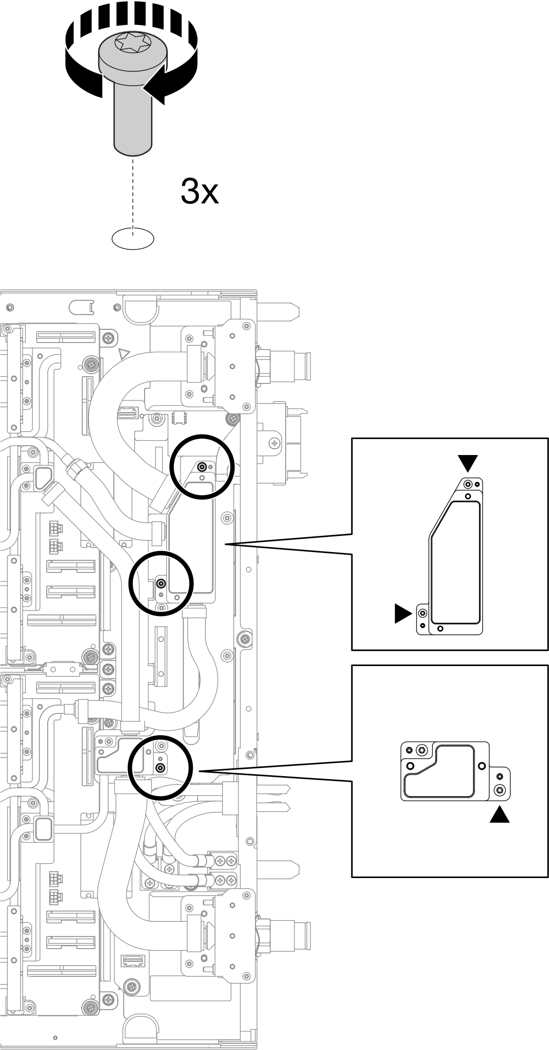
安装漏液传感器。请参阅安装漏液传感器。
安装边带线缆套件。请参阅安装系统管理边带线缆套件。
安装中间 E3.S 硬盘仓。请参阅安装 E3.S 1T 中间硬盘仓组合件。
- 安装 PCIe 适配器转接卡架。请参阅安装 ConnectX-7 NDR 200 适配器转接卡组合件或安装 ConnectX-7 NDR 400 适配器转接卡组合件。
安装正面 E3.S 硬盘仓。请参阅安装 E3.S 正面硬盘仓组合件。
如果系统将安装需要双侧散热的内存条,请安装 DIMM 散热条。请参阅安装 DIMM 散热条。
安装横梁。请参阅安装横梁。
安装内存条,请执行以下操作之一。
安装需要单侧散热的内存条。请参阅安装内存条(单侧散热)。或
安装需要双侧散热的内存条。请参阅安装内存条(双侧散热)。
安装 DIMM 梳。请参阅安装 DIMM 梳。
安装托盘外盖。请参阅安装托盘外盖。
将托盘装入机柜。请参阅在机柜中安装托盘。
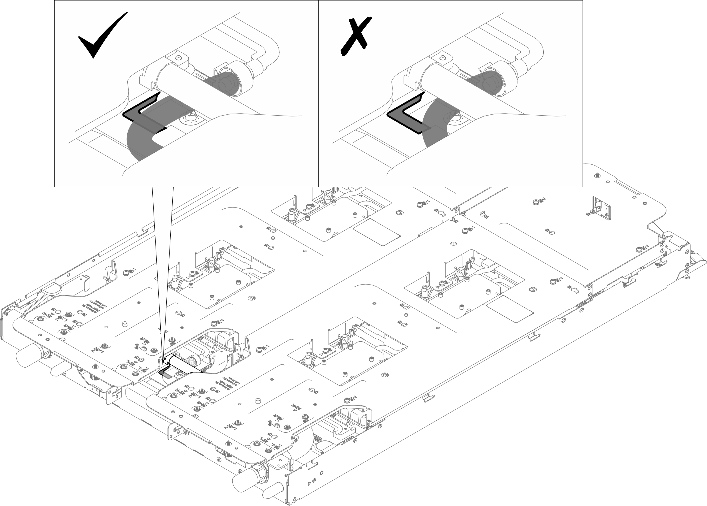
- 将所有需要的外部线缆连接到解决方案。注用力将 QSFP 线缆连接到解决方案。
检查各节点上的电源 LED,确保其从快速闪烁转变为缓慢闪烁,表示所有节点已准备好打开电源。







































