System Management Module 3(SMM3)LED
下图显示了 SMM3 模块上的 LED。
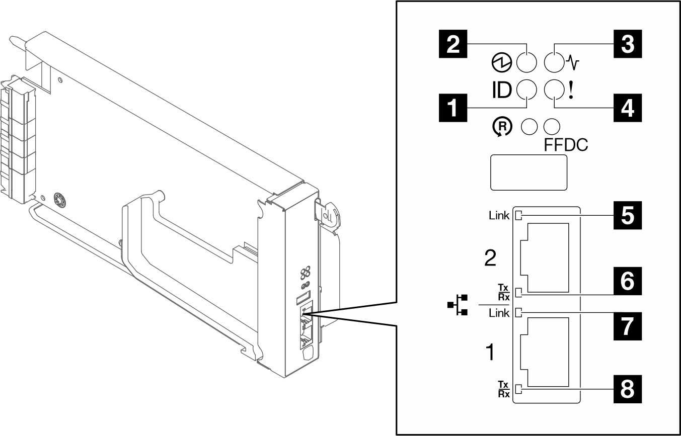
SMM3 LED
图 1. SMM3 LED


| 1 标识 LED(蓝色) | 5 以太网端口 2 链路(RJ-45)LED(绿色) |
| 2 电源 LED(绿色) | 6 以太网端口 2 活动(RJ-45)LED(绿色) |
| 3 状态 LED(绿色) | 7 以太网端口 1 链路(RJ-45)LED(绿色) |
| 4 检查日志 LED(黄色) | 8 以太网端口 1 活动(RJ-45)LED(绿色) |
1 标识 LED:此 LED 点亮(蓝色)时,表示机架中机柜的位置。
2 电源 LED:此 LED 点亮(绿色)时,表示 SMM3 已通电。
3 状态 LED:此 LED(绿色)指示 SMM3 的运行状态。
持续点亮:SMM3 遇到了一个或多个问题。
熄灭:在机柜通电的情况下,指示 SMM3 遇到了一个或多个问题。
- 闪烁:SMM3 正在工作。
在预引导过程中,LED 以 1 Hz 的频率闪烁,然后保持常亮。
LED 以 1 Hz 频率闪烁:SMM3 硬件正在工作并准备好初始化。
LED 常亮:SMM3 正在初始化。
预引导过程和初始化完成后,如果 SMM3 正常工作,LED 将以 1 Hz(每秒 1 次)的频率闪烁。
4 检查日志 LED:此 LED 点亮(黄色)时,表示发生了系统错误。请查看 SMM3 事件日志以获取其他信息。
5 以太网端口 2 链路(RJ-45)LED:此 LED 点亮(绿色)时,表示存在通过远程管理和控制台(以太网)端口 2 到管理网络的活动连接。
6 以太网端口 2 活动(RJ-45)LED:此 LED 闪烁(绿色)时,表示通过远程管理和控制台(以太网)端口 2 在管理网络上有活动。
7 以太网端口 1 链路(RJ-45)LED:此 LED 点亮(绿色)时,表示存在通过远程管理和控制台(以太网)端口 1 到管理网络的活动连接。
8 以太网端口 1 活动(RJ-45)LED:此 LED 闪烁(绿色)时,表示通过远程管理和控制台(以太网)端口 1 在管理网络上有活动。
提供反馈