跳到主要内容

安装起重工具组合件

按以下信息安装起重工具组合件,这是拆卸和安装托盘和 PCS 的必备工具。

关于本任务

为了安装起重工具组合件,需要以下物品:
  • Genie GL-8 起重工具和脚踏制动器包含在“Genie Lift GL-8 Option Kit”中。脚踏制动器应连接到起重工具上。

  • “GL-8 Kit for N1380 and SC Systems”中包含的起重工具夹具

注意
观看操作过程
  • 关于此过程的视频请见 YouTube

过程

  1. 踩下脚踏板以锁定起重工具的车轮制动器。
    图 1. 锁定起重工具车轮制动器

  2. 如有必要,从起重工具上卸下装载平台。
    图 2. 卸下装载平台

    不使用装载平台或起重工具夹具时,将其存放在旋转夹具推车中。
    图 3. 将装载平台和起重工具夹具存放在推车中

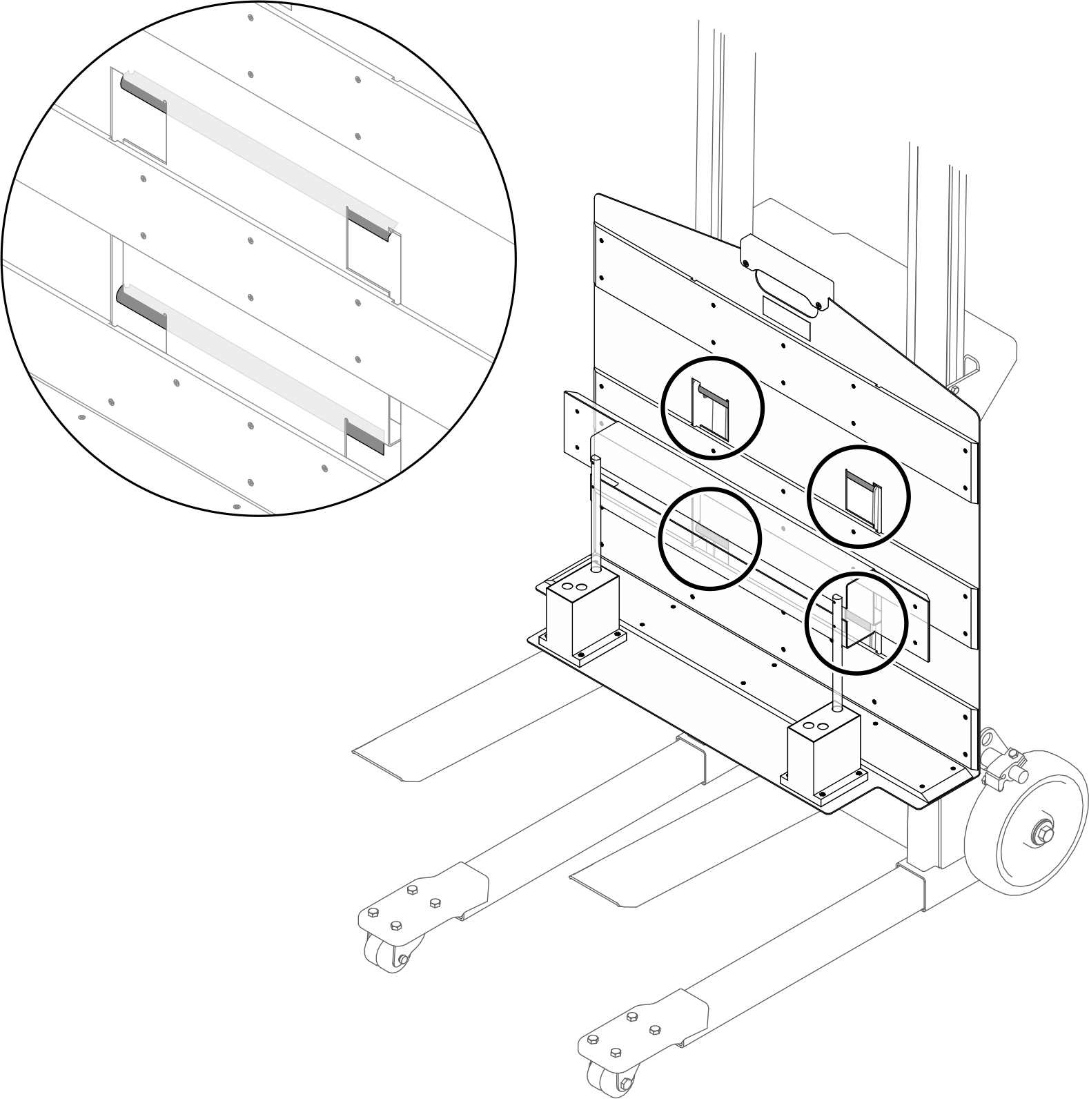
  3. 起重工具夹具的背面有四个挂钩。将挂钩与起重工具上的平行杆对齐,然后将挂钩锁定到平行杆上,以将起重工具夹具固定到起重工具上。
    图 4. 将起重工具夹具固定到起重工具上

  4. 如果可以通过挂钩开口看到平行杆并且基座位于叉子上,表示夹具已正确固定。
    图 5. 起重工具夹具正确安装

完成之后

继续卸下或安装托盘或 PCS。