リフト・ツール・アセンブリーのセットアップ
トレイとPCSの取り外しと取り付けに必須のツールであるリフト・ツール・アセンブリーをセットアップするには、この情報を使用します。
このタスクについて
リフト・ツール・アセンブリーのセットアップには、以下のものが必要です。
「Genie Lift GL-8 Option Kit」に含まれている Genie GL-8 リフト・ツールとフットリリース・ブレーキ。フットリリース・ブレーキはリフト・ツールに取り付ける必要があります。
「GL-8 Kit for N1380 and SC Systems」に含まれているリフト・ツール固定具
重要
安全に作業を行うために、取り付けのガイドラインおよび 安全検査のチェックリストをお読みください。
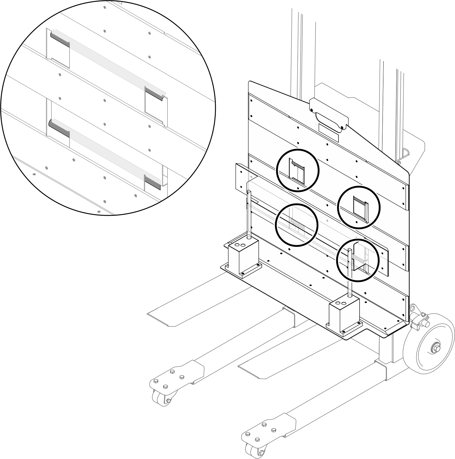
図はご使用のハードウェアと多少異なる場合がありますが、取り付け方法は同じです。
動画で見る
- この手順を説明した動画については、YouTube をご覧ください。
手順
完了したら
トレイまたはPCSの取り外しまたは取り付けに進みます。
フィードバックを送る




