Setting up the lift tool assembly
Use this information to set up the lift tool assembly, which is a mandatory tool for tray and PCS removal and installation.
About this task
Setting up the lift tool assembly requires the followings items:
Genie GL-8 lift tool and foot-release brake included in the “Genie Lift GL-8 Option Kit”. The foot-release brake should be attached to the lift tool.
Lift tool fixture included in the “GL-8 Kit for N1380 and SC Systems”
Attention
Read Installation Guidelines and Safety inspection checklist to ensure that you work safely.
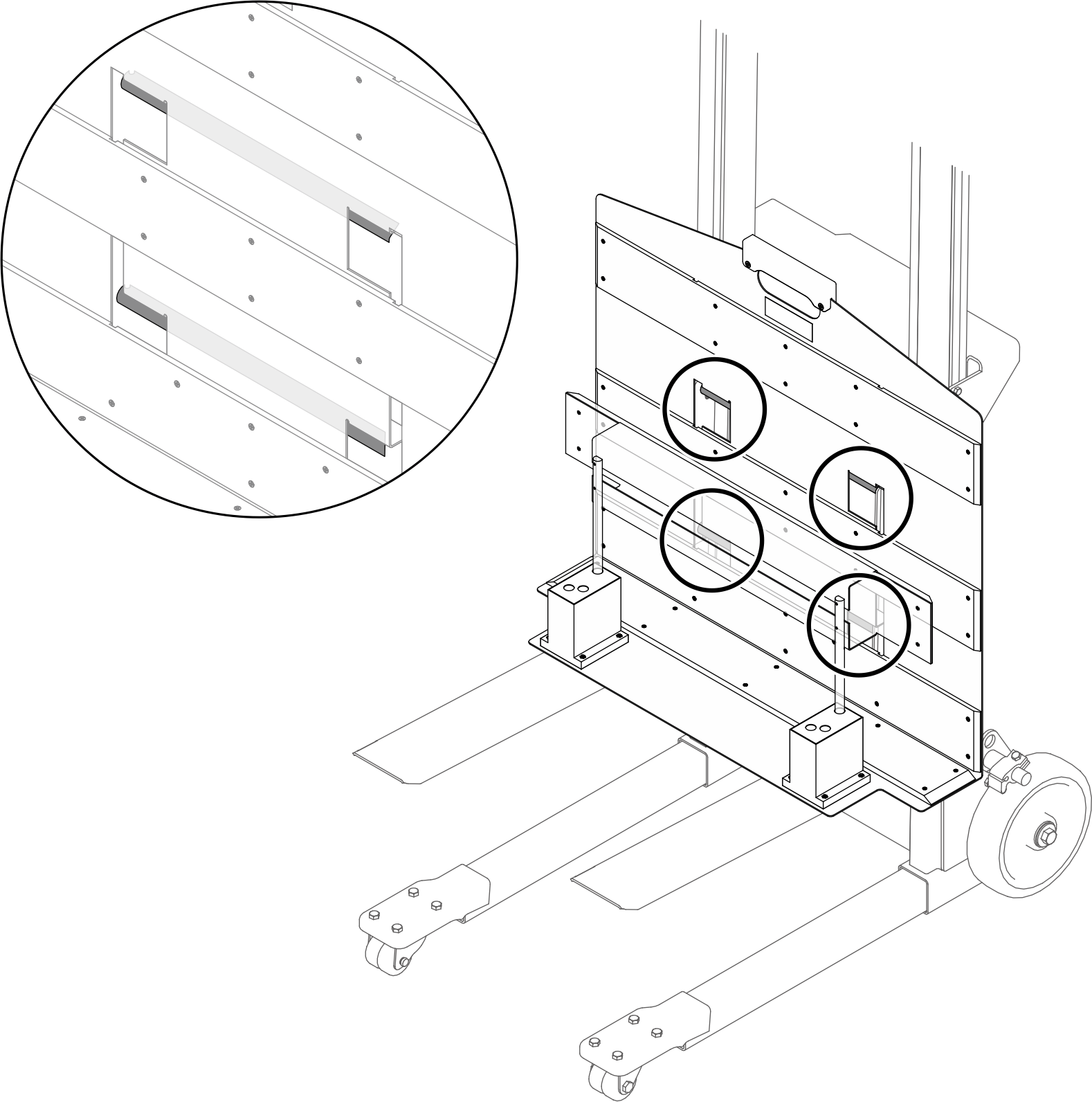
The following illustration might differ slightly from your hardware, but the installation method is the same.
Watch the procedure
- A video of this procedure is available at YouTube.
Procedure
After you finish
Proceed to removing or installing tray or PCS.
Give documentation feedback




