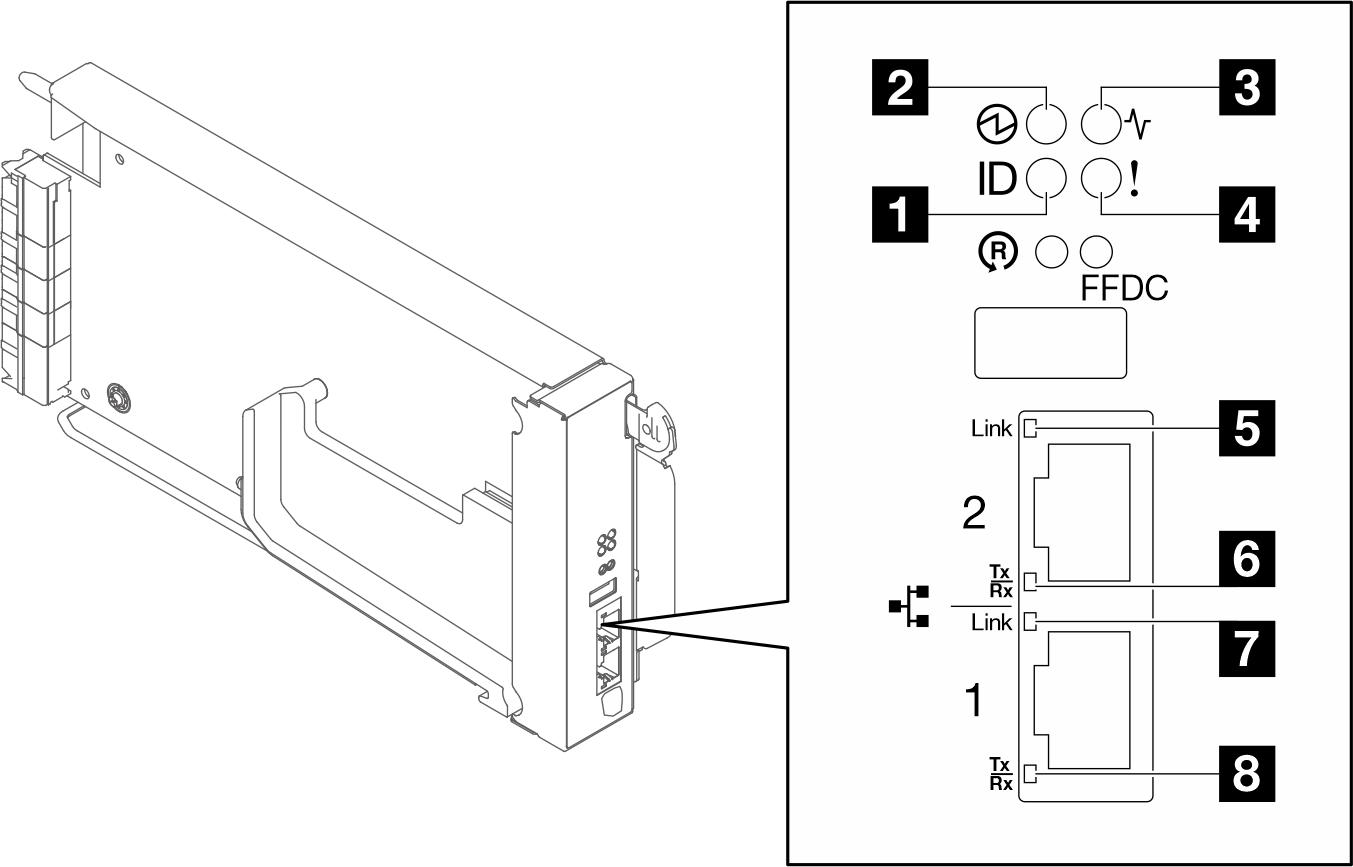
System Management Module 3 (SMM3) LEDS
The following illustration shows the LEDs on the SMM3 module.
SMM3 LEDs

| 1 Identification LED (blue) | 5 Ethernet port 2 link (RJ-45) LED (green) |
| 2 Power LED (green) | 6 Ethernet port 2 activity (RJ-45) LED (green) |
| 3 Status LED (green) | 7 Ethernet port 1 link (RJ-45) LED (green) |
| 4 Check log LED (yellow) | 8 Ethernet port 1 activity (RJ-45) LED (green) |
1 Identification LED: When this LED is lit (blue), it indicates the enclosure location in a rack.
2 Power-on LED: When this LED is lit (green), it indicates that the SMM3 has power.
Continuously on: The SMM3 has encountered one or more problems.
Off: When the enclosure power is on, it indicates the SMM3 has encountered one or more problems.
- Flashing: The SMM3 is working.
During the pre-boot process, the LED flashes at 1 Hz then change to keep on.
LED flashes at 1 Hz: the SMM3 hardware is working and ready to initialize.
LED keeps on: SMM3 is initializing.
When the pre-boot process and initialization are completed and the SMM3 is working correctly, the LED flashes at 1 Hz (once every second).
4 Check log LED: When this LED is lit (yellow), it indicates that a system error has occurred. Check the SMM3 event log for additional information.
5 Ethernet port 2 link (RJ-45) LED: When this LED is lit (green), it indicates that there is an active connection through the remote management and console (Ethernet) port 2 to the management network.
6 Ethernet port 2 activity (RJ-45) LED: When this LED is flashing (green), it indicates that there is an activity through the remote management and console (Ethernet) port 2 over the management network.
7 Ethernet port 1 link (RJ-45) LED: When this LED is lit (green), it indicates that there is an active connection through the remote management and console (Ethernet) port 1 to the management network.
8 Ethernet port 1 activity (RJ-45) LED: When this LED is flashing (green), it indicates that there is an activity through the remote management and console (Ethernet) port 1 over the management network.