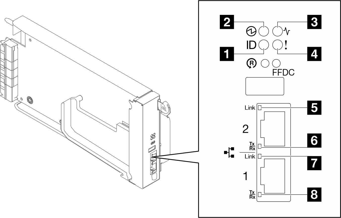
SMM3(System Management Module 3) LED
다음 그림은 SMM3 모듈의 LED를 보여줍니다.
SMM3 LED

| 1 식별 LED(파란색) | 5 이더넷 포트 2 링크(RJ-45) LED(녹색) |
| 2 전원 LED(녹색) | 6 이더넷 포트 2 활동(RJ-45) LED(녹색) |
| 3 상태 LED(녹색) | 7 이더넷 포트 1 링크(RJ-45) LED(녹색) |
| 4 검사 로그 LED(노란색) | 8 이더넷 포트 1 활동(RJ-45) LED(녹색) |
1 식별 LED: 이 LED가 켜져 있으면(파란색) 랙의 엔클로저 위치를 나타냅니다.
2 전원 켜짐 LED: 이 LED가 켜져 있으면(녹색) SMM3에 전원이 연결되었음을 나타냅니다.
계속해서 켜짐: SMM3에 하나 이상의 문제가 발생했습니다.
꺼짐: 엔클로저 전원이 켜진 경우 SMM3에 하나 이상의 문제가 발생했음을 나타냅니다.
- 깜박임: SMM3가 작동 중입니다.
사전 부팅 프로세스 중 LED가 1Hz로 깜박인 다음 계속 켜진 상태로 바뀝니다.
LED가 1Hz에서 깜박임: SMM3 하드웨어가 작동 중이며 초기화할 준비가 되었습니다.
LED가 계속 켜져 있음: SMM3가 초기화 중입니다.
사전 부팅 프로세스 및 초기화가 완료되고 SMM3이 올바르게 작동하면 LED가 1Hz(초당 한 번)로 깜박입니다.
4 로그 검사 LED: 이 LED가 켜져 있으면(노란색) 시스템 오류가 발생했음을 나타냅니다. 추가 정보는 SMM3 이벤트 로그를 확인하십시오.
5 이더넷 포트 2 링크(RJ-45) LED: 이 LED가 켜져 있으면(녹색) 원격 관리 및 콘솔(이더넷) 포트 2를 통해 관리 네트워크에 대한 활성 연결이 있음을 나타냅니다.
6 이더넷 포트 2 활동(RJ-45) LED: 이 LED가 깜박이면(녹색) 원격 관리 및 콘솔(이더넷) 포트 2를 통해 관리 네트워크에 대한 활동이 있음을 나타냅니다.
7 이더넷 포트 1 링크(RJ-45) LED: 이 LED가 켜져 있으면(녹색) 원격 관리 및 콘솔(이더넷) 포트 1을 통해 관리 네트워크에 대한 활성 연결이 있음을 나타냅니다.
8 이더넷 포트 1 활동(RJ-45) LED: 이 LED가 깜박이면(녹색) 원격 관리 및 콘솔(이더넷) 포트 1을 통해 관리 네트워크에 대한 활동이 있음을 나타냅니다.