System Management Module 3 (SMM3) LED
次の図は、SMM3 モジュール上の LED を示しています。
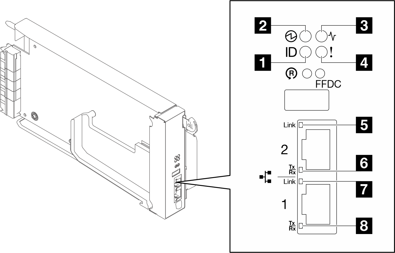
SMM3 LED

| 1 識別 LED (青色) | 5 イーサネット・ポート 2 リンク (RJ-45) LED (緑色) |
| 2 電源 LED (緑色) | 6 イーサネット・ポート 2 活動 (RJ-45) LED (緑色) |
| 3 状況 LED (緑色) | 7 イーサネット・ポート 1 リンク (RJ-45) LED (緑色) |
| 4 チェック・ログ LED (黄色) | 8 イーサネット・ポート 1 活動 (RJ-45) LED (緑色) |
1 識別 LED: この LED が点灯 (青色) している場合、ラックのエンクロージャー の場所を示しています。
2 電源 LED: この LED (緑色) が点灯している場合、SMM3 に電力が供給されていることを示しています。
継続的にオン: SMM3 が 1 つ以上の問題を検出しました。
オフ: エンクロージャーの電源がオンの場合、SMM3 が 1 つ以上の問題を検出したことを示しています。
- 点滅: SMM3 が動作しています。
プリブート・プロセス中、LED は 1 Hz で点滅し、その後点灯し続けるように変化します。
LED が 1 Hz で点滅: SMM3 ハードウェアは動作しており、初期化の準備ができています。
LED が点灯し続ける: SMM3 は初期化中です。
プリブート・プロセスと初期化が完了し、SMM3 が正しく動作している場合、LED は 1 Hz で点滅します (1 秒に 1 回)。
4 チェック・ログ LED: この LED が点灯している場合 (黄色)、システム・エラーが発生したことを示しています。SMM3 イベント・ログを調べて、追加情報があるかどうかを確認してください。
5 イーサネット・ポート 2 リンク (RJ-45) LED: この LED が点滅 (緑色) しているときは、管理ネットワーク上にリモート管理およびコンソール (イーサネット) ポート 2 を介したアクティブ接続があることを示しています。
6 イーサネット・ポート 2 活動 (RJ-45) LED: この LED が点滅 (緑色) しているときは、管理ネットワーク上にリモート管理およびコンソール (イーサネット) ポート 2 を介したアクティビティーがあることを示しています。
7 イーサネット・ポート 1 リンク (RJ-45) LED: この LED が点滅 (緑色) しているときは、管理ネットワーク上にリモート管理およびコンソール (イーサネット) ポート 1 を介したアクティブ接続があることを示しています。
8 イーサネット・ポート 1 活動 (RJ-45) LED: この LED が点滅 (緑色) しているときは、管理ネットワーク上にリモート管理およびコンソール (イーサネット) ポート 1 を介したアクティビティーがあることを示しています。