Anzeigen für System Management Module 3 (SMM3)
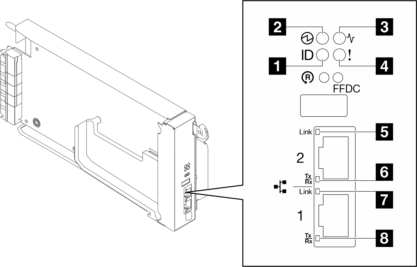
Die folgende Abbildung zeigt die Anzeigen auf dem SMM3-Modul.
SMM3-Anzeigen

| 1 Identifikationsanzeige (blau) | 5 Verbindungsanzeige des Ethernet-Anschlusses 2 (RJ45) (grün) |
| 2 Betriebsanzeige (grün) | 6 Aktivitätsanzeige des Ethernet-Anschlusses 2 (RJ45) (grün) |
| 3 Statusanzeige (grün) | 7 Verbindungsanzeige des Ethernet-Anschlusses 1 (RJ45) (grün) |
| 4 Anzeige für Prüfprotokoll (gelb) | 8 Aktivitätsanzeige des Ethernet-Anschlusses 1 (RJ45) (grün) |
1 Identifikationsanzeige: Wenn diese Anzeige leuchtet (blau), zeigt dies die Gehäuseposition in einem Rack an.
2 Betriebsanzeige: Wenn diese Anzeige (grün) leuchtet, bedeutet dies, dass das SMM3 mit Strom versorgt wird.
Durchgehendes Leuchten: Auf dem SMM3 ist mindestens ein Problem aufgetreten.
Aus: Wenn das Gehäuse mit Strom versorgt wird, zeigt dies an, dass beim SMM3 mindestens ein Problem aufgetreten ist.
- Blinken: Das SMM3 funktioniert.
Während des Pre-Bootprozesses blinkt die Anzeige mit einer Frequenz von 1 Hz und wechselt dann in den Dauerbetrieb.
Die Anzeige blinkt mit 1 Hz: Die SMM3-Hardware funktioniert und kann initialisiert werden.
LED leuchtet ununterbrochen: SMM3 wird initialisiert.
Wenn der Pre-Bootprozess und die Initialisierung abgeschlossen sind und das SMM3 ordnungsgemäß funktioniert, blinkt die Anzeige mit 1 Hz (einmal pro Sekunde).
4 Prüfprotokollanzeige: Diese Anzeige leuchtet (gelb), wenn ein Systemfehler aufgetreten ist. Weitere Informationen finden Sie im SMM3-Ereignisprotokoll.
5 Verbindungsanzeige des Ethernet-Anschlusses 2 (RJ45): Wenn diese Anzeige leuchtet (grün), weist dies auf eine aktive Verbindung über das Verwaltungsnetzwerk bis zum Fernverwaltungs‑ und Konsolenanschluss 2 (Ethernet) hin.
6 Aktivitätsanzeige des Ethernet-Anschlusses 2 (RJ45): Wenn diese Anzeige blinkt (grün), weist dies auf Aktivität über das Verwaltungsnetzwerk bis zum Fernverwaltungs‑ und Konsolenanschluss 2 (Ethernet) hin.
7 Verbindungsanzeige des Ethernet-Anschlusses 1 (RJ45): Wenn diese Anzeige leuchtet (grün), weist dies auf eine aktive Verbindung über das Verwaltungsnetzwerk bis zum Fernverwaltungs‑ und Konsolenanschluss 1 (Ethernet) hin.
8 Aktivitätsanzeige des Ethernet-Anschlusses 1 (RJ45): Wenn diese Anzeige blinkt (grün), weist dies auf Aktivität über das Verwaltungsnetzwerk bis zum Fernverwaltungs‑ und Konsolenanschluss 1 (Ethernet) hin.