跳到主要内容

Remove a ConnectX-8 adapter riser assembly

Use this information to remove a ConnectX-8 adapter riser assembly.

About this task

Required tools
  • Screwdriver for T6 and PH1 screws

  • Waterloop Miscellaneous Kit (SC750 V4) .

  • CX8 Conduction Plate

  • CX8 Gap Pad (if installing ConnectX-8 for the first time)

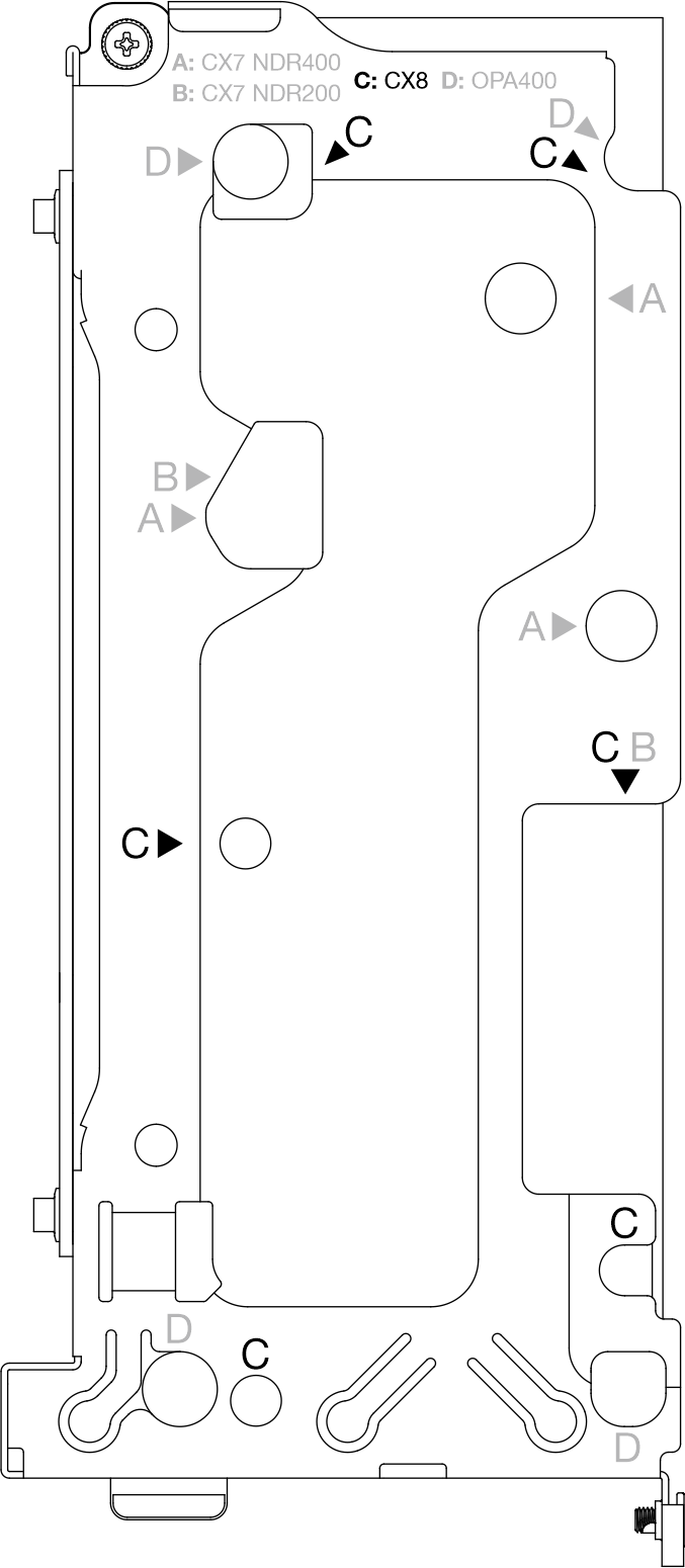
  • The system supports two types of riser cages, 1 with A/B printing and 2 with A/B/C/D printing, as shown in the illustration below. Make sure to use riser cage 2 when installing the Connect-X 8 adapter.

    Figure 1. Riser cage types

  • The system supports two types of front cross bars, as 1 and 2 shown in the illustration below, with the triangle marks pointing out their differences. Make sure to use front cross bar 2 if the system operates the Connect-X 8 shared I/O configuration or Connect-X 8 socket direct configuration.

    Figure 2. Front cross bar types

Attention
  • Read Installation Guidelines and Safety inspection checklist to ensure that you work safely.

  • Turn off the corresponding DWC tray that you are going to perform the task on.

  • Disconnect all external cables from the enclosure.

  • Use extra force to disconnect QSFP cables if they are connected to the solution.

Watch the procedure
  • A video of this procedure is available at YouTube.

Procedure

  1. Make preparations for this task.
    1. Remove the tray from the enclosure. See Remove a tray from the enclosure.
    2. Remove the tray cover. See Remove the tray cover.
    3. Remove the cross braces. See Remove the cross braces.
    4. For shared I/O or socket direct configurations, disconnect the cable from the system board. See Internal cable routing.
  2. Loosen the ConnectX-8 riser assembly from the water loop.
    1. Loosen the captive screw on the riser assembly.
    2. Remove six T6 screws from the screw holes marked with C on the riser cage. Remove the screws with a torque screwdriver set to the proper torque.
    Note

    For reference, the torque required for the screws to be fully tightened/removed is 3+/- 0.5 lbf-in.

    Figure 3. Loosening the ConnectX-8 riser assembly

    Figure 4. Screw holes marked with C on riser cage

  3. Carefully grasp the riser assembly by its edges and remove it out of the node.
    Figure 5. Removing ConnectX-8 riser assembly removal
    PCIe riser assembly removal
  4. If necessary, remove the interface plate.
    1. Remove the five PH1 screws from the interface plate.
      Figure 6. Removing ConnectX-8 riser assembly interface plate
      Interface plate installation
    2. Release the interface plate with a flat head screwdriver.
      1. There are openings (marked with black triangle in the illustration below) on the bottom side of the interface plate for inserting a flat head screwdriver—select the one that is accessible for the flat head screwdriver.

      2. Insert a flat head screwdriver into the opening; then, slightly rotate the screwdriver to release the interface plate from the water loop cold plate.

      Figure 7. Locations of openings on the bottom side of the ConnectX-8 riser assembly interface plate
      Locations of openings on the bottom side of the interface plate
      Figure 8. Releasing the interface plate from water loop cold plate
      Releasing the interface plate from water loop cold plate
    3. Remove the interface plate from the tray.
      Figure 9. Removing the interface plate

  5. If no riser cage or drive cage is to be installed, install the blank bezel filler.
    Figure 10. Installing blank bezel filler
    Blank bezel filler removal
After you finish

If you are instructed to return the component or optional device, follow all packaging instructions, and use any packaging materials for shipping that are supplied to you.