Remove a ConnectX-8 adapter riser assembly
Use this information to remove a ConnectX-8 adapter riser assembly.
About this task
Screwdriver for T6 and PH1 screws
Waterloop Miscellaneous Kit (SC750 V4) .
CX8 Conduction Plate
CX8 Gap Pad (if installing ConnectX-8 for the first time)
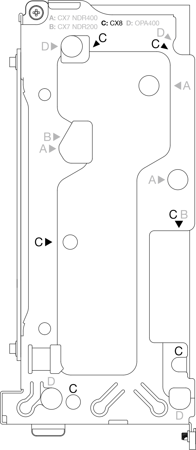
The system supports two types of riser cages, 1 with A/B printing and 2 with A/B/C/D printing, as shown in the illustration below. Make sure to use riser cage 2 when installing the Connect-X 8 adapter.
Figure 1. Riser cage types
Read Installation Guidelines and Safety inspection checklist to ensure that you work safely.
Turn off the corresponding DWC tray that you are going to perform the task on.
Disconnect all external cables from the enclosure.
Use extra force to disconnect QSFP cables if they are connected to the solution.
- A video of this procedure is available at YouTube.
Procedure
If you are instructed to return the component or optional device, follow all packaging instructions, and use any packaging materials for shipping that are supplied to you.









