ConnectX-8 アダプター・ライザー・アセンブリーの取り外し
ConnectX-8 アダプター・ライザー・アセンブリーを取り外すには、この情報を使用します。
このタスクについて
必要なツール
T6 および PH1 ねじ用ドライバー
Waterloop Miscellaneous Kit (SC750 V4) 。
CX8 Conduction Plate
CX8 Gap Pad (ConnectX-8 を初めて取り付ける場合)
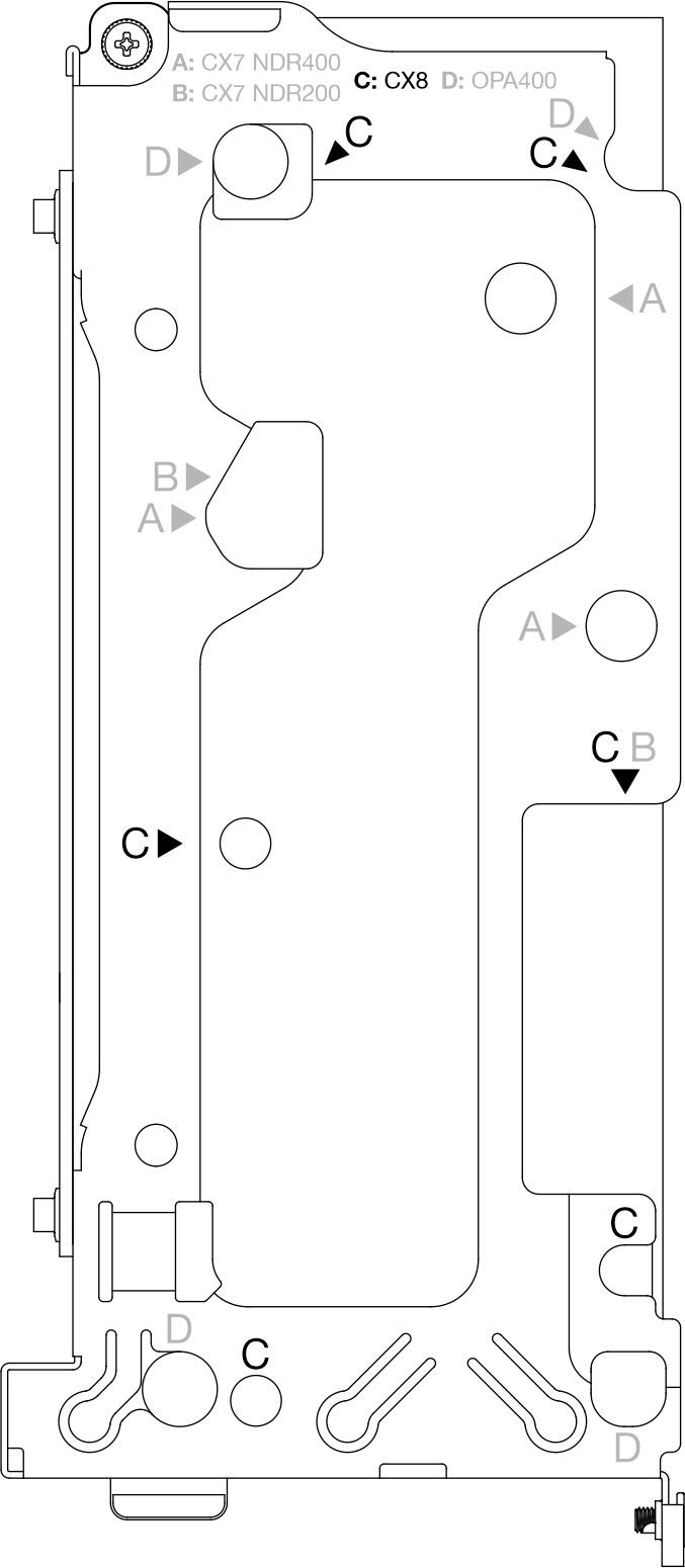
システムは、以下の図に表示されているように、2 つのタイプのライザー・ケージ (A/B 表記の 1 と A/B/C/D 表記の 2) をサポートしています。Connect-X 8アダプターを取り付けるときは、必ずライザー・ケージ 2 を使用してください。
図 1. ライザー・ケージのタイプ
重要
安全に作業を行うために、取り付けのガイドラインおよび 安全検査のチェックリストをお読みください。
タスクを実行しようとしている対応する DWC トレイの電源をオフにします。
エンクロージャーからすべての外部ケーブルを切り離します。
QSFP ケーブルがソリューションに接続されている場合、余分な力をかけてケーブルを取り外します。
動画で見る
- この手順を説明した動画については、YouTube をご覧ください。
手順
完了したら
コンポーネントまたはオプション装置を返却するよう指示された場合は、すべての梱包上の指示に従い、提供された配送用の梱包材がある場合はそれを使用してください。
フィードバックを送る









