Install a ConnectX-8 adapter riser assembly
Use this information to install a ConnectX-8 adapter riser assembly.
About this task
Screwdriver for T6 and PH1 screws
Waterloop Miscellaneous Kit (SC750 V4) .
CX8 Conduction Plate
CX8 Gap Pad (if installing ConnectX-8 for the first time)
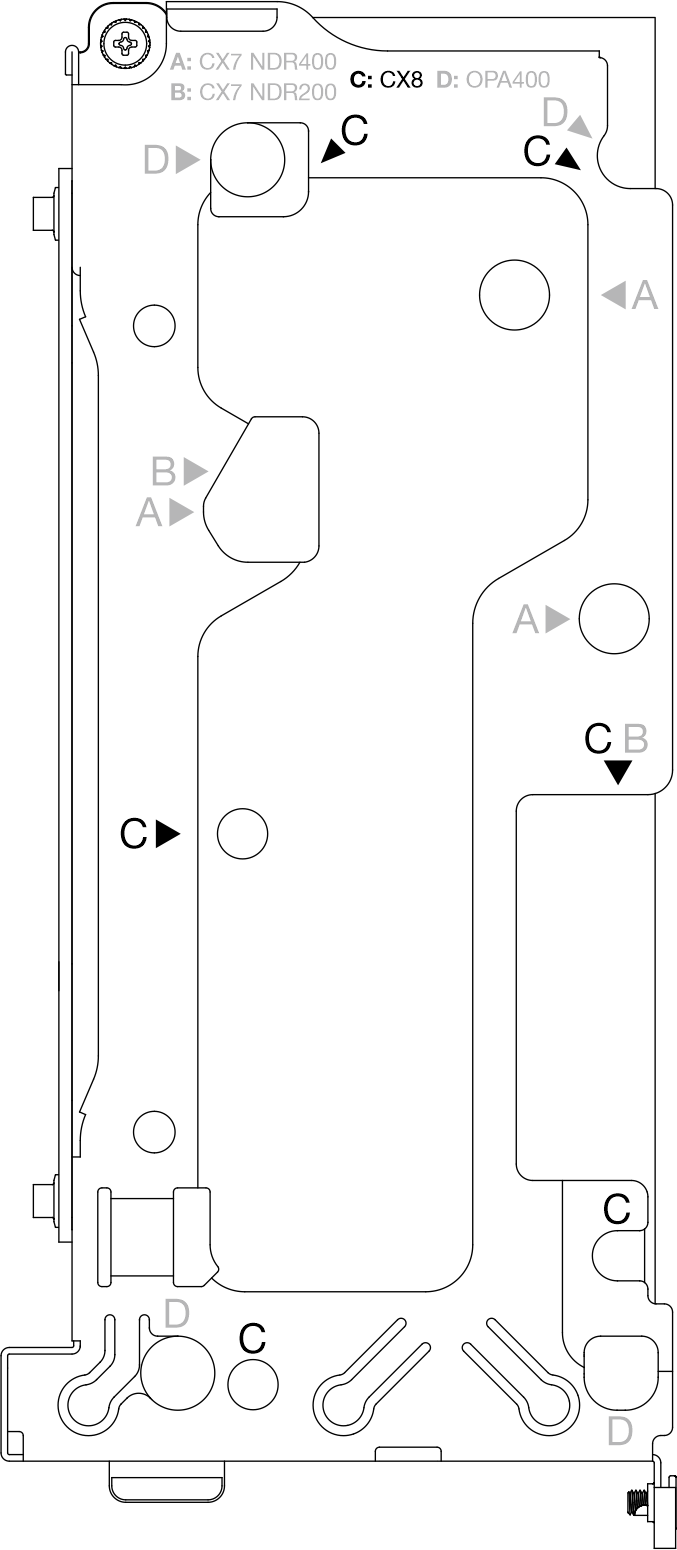
The system supports two types of riser cages, 1 with A/B printing and 2 with A/B/C/D printing, as shown in the illustration below. Make sure to use riser cage 2 when installing the Connect-X 8 adapter.
Figure 1. Riser cage types
The system supports two types of front cross bars, as 1 and 2 shown in the illustration below, with the triangle marks pointing out their differences. Make sure to use front cross bar 2 if the system operates the Connect-X 8 shared I/O configuration or Connect-X 8 socket direct configuration.
Figure 2. Front cross bar types
For gap pad location and instruction, see Gap pad identification and location.
Before replacing the gap pad, gently clean the surface with an alcohol cleaning pad.
Hold the gap pad carefully to avoid deformation. Make sure no screw hole or opening is blocked by the gap pad material.
Read Installation Guidelines and Safety inspection checklist to ensure that you work safely.
Turn off the corresponding DWC tray that you are going to perform the task on.
Disconnect all external cables from the enclosure.
Use extra force to disconnect QSFP cables if they are connected to the solution.
- A video of this procedure is available at YouTube.
Procedure
Connect the PCIe adapter cables to the system board. See Internal cable routing.
Install the cross braces. See Install the cross braces.
Install the tray cover. See Install the tray cover.
Install the tray into the enclosure. See Install a tray in the enclosure.
- Connect all required external cables to the solution.NoteUse extra force to connect QSFP cables to the solution.
- Check the power LED on each node to make sure it changes from fast blink to slow blink to indicate all nodes are ready to be powered on.Note
Shared I/O configuration requires specific nodes power-on sequence. When powering on the system, power on Node B first; then, power on Node A. For more information, see PCIe adapter cable routing.
When installing a new interface plate to the node, or when there are no studs present on the interface plate, install the studs (six) to the interface plate before installing the screws. Note that the screws must be installed to the studs on the interface plate.










