Install an OPA 400 adapter riser assembly
Use this information to install an OPA 400 adapter riser assembly.
About this task
Screwdriver for T10 and PH1 screws
Waterloop Miscellaneous Kit (SC750 V4) .
OPA 400 Gap Pad
OPA 400 Conduction Plate (if installing OPA 400 for the first time)
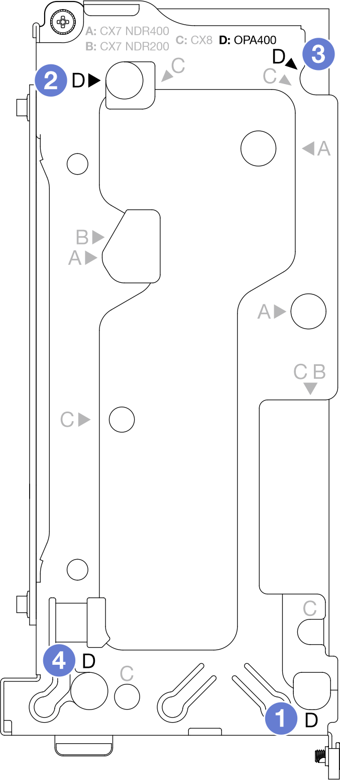
The system supports two types of riser cages, 1 with A/B printing and 2 with A/B/C/D printing, as shown in the illustration below. Make sure to use riser cage 2 when installing the OPA 400.
Figure 1. Riser cage types
For gap pad location and instruction, see Gap pad identification and location.
Before replacing the gap pad, gently clean the surface with an alcohol cleaning pad.
Hold the gap pad carefully to avoid deformation. Make sure no screw hole or opening is blocked by the gap pad material.
Read Installation Guidelines and Safety inspection checklist to ensure that you work safely.
Turn off the corresponding DWC tray that you are going to perform the task on.
Disconnect all external cables from the enclosure.
Use extra force to disconnect QSFP cables if they are connected to the solution.
- A video of this procedure is available at YouTube.
Procedure
Connect the PCIe adapter cables to the system board. See Internal cable routing.
Install the cross braces. See Install the cross braces.
Install the tray cover. See Install the tray cover.
Install the tray into the enclosure. See Install a tray in the enclosure.
- Connect all required external cables to the solution.NoteUse extra force to connect QSFP cables to the solution.
- Check the power LED on each node to make sure it changes from fast blink to slow blink to indicate all nodes are ready to be powered on.Note
Shared I/O configuration requires specific nodes power-on sequence. When powering on the system, power on Node B first; then, power on Node A. For more information, see PCIe adapter cable routing.











