メインコンテンツまでスキップ

Install an OPA 400 adapter riser assembly

Use this information to install an OPA 400 adapter riser assembly.

About this task

Required tools
  • Screwdriver for T10 and PH1 screws

  • Waterloop Miscellaneous Kit (SC750 V4) .

  • OPA 400 Gap Pad

  • OPA 400 Conduction Plate (if installing OPA 400 for the first time)

  • The system supports two types of riser cages, 1 with A/B printing and 2 with A/B/C/D printing, as shown in the illustration below. Make sure to use riser cage 2 when installing the OPA 400.

    Figure 1. Riser cage types

Important
Gap pad replacement guidelines
  • For gap pad location and instruction, see Gap pad identification and location.

  • Before replacing the gap pad, gently clean the surface with an alcohol cleaning pad.

  • Hold the gap pad carefully to avoid deformation. Make sure no screw hole or opening is blocked by the gap pad material.

Attention
  • Read Installation Guidelines and Safety inspection checklist to ensure that you work safely.

  • Turn off the corresponding DWC tray that you are going to perform the task on.

  • Disconnect all external cables from the enclosure.

  • Use extra force to disconnect QSFP cables if they are connected to the solution.

Watch the procedure
  • A video of this procedure is available at YouTube.

Procedure

  1. PCIe riser assembly installation rule is different for each PCIe configurations: standalone, socket direct, and shared I/O. When selecting riser slot to install a PCIe riser assembly, make sure to reference the rules specified in Front drive and PCIe adapter configuration.
  2. Make sure to install correct type of PCIe riser cage to the corresponding riser slot.
    Note
    The type of PCIe riser cage installed in slot 1 and slot 2 are different. See the illustration below for proper PCIe riser cage installation.
    Riser cage typeSlot numbering
    1 Riser cage with cabled riserPCIe slot 2
    2 Standard riser cagePCIe Slot 1
    Figure 2. PCIe riser cage types for slot 1 and slot 2
    Types of PCIe riser installed in slot 1 and slot 2
  3. Remove the blank bezel fillers if they are installed.
    Figure 3. Removing blank bezel filler
    Blank bezel filler removal
  4. If the interface plate was removed, install the interface plate to the water loop.
    1. Align the interface plate with the two guide pins on the water loop (marked with circles in the illustration below).
      Figure 4. Guide pins for PCIe adapter interface plate

    2. Place the interface plate on the water loop; then, install four PH1 screws.
      Figure 5. OPA 400 riser assembly interface plate installation
      Interface plate installation
  5. Replace the single-use gap pad on the interface plate with a new one. Make sure to follow Gap pad/putty pad replacement guidelines.
    Figure 6. OPA 400 riser assembly interface plate single-use gap pad

  6. Install the OPA 400 riser assembly.
    1. Install the OPA 400 riser assembly to the water loop.
      Figure 7. Installing the OPA 400 riser assembly

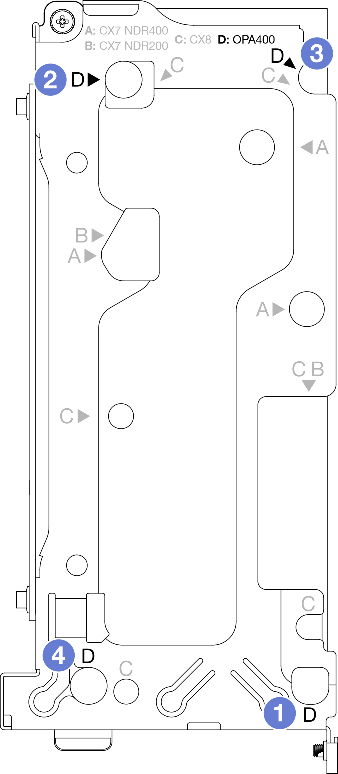
    2. Follow the screw installation sequence shown in the illustration below, and install four T10 screws to screw holes marked with D on the riser cage.
      Figure 8. Installing screws to secure the OPA 400 riser assembly

      Figure 9. OPA 400 screw hole identification and sequence

    3. Fasten the captive screw to secure the riser assembly to the water loop.
    Figure 10. Installing OPA 400 riser assembly

After you finish
  1. Connect the PCIe adapter cables to the system board. See Internal cable routing.

  2. Install the cross braces. See Install the cross braces.

  3. Install the tray cover. See Install the tray cover.

  4. Install the tray into the enclosure. See Install a tray in the enclosure.

  5. Connect all required external cables to the solution.
    Note
    Use extra force to connect QSFP cables to the solution.
  6. Check the power LED on each node to make sure it changes from fast blink to slow blink to indicate all nodes are ready to be powered on.
    Note

    Shared I/O configuration requires specific nodes power-on sequence. When powering on the system, power on Node B first; then, power on Node A. For more information, see PCIe adapter cable routing.