System Management Module 3 (SMM 3)
In der folgenden Abbildung sind die Anschlüsse und Tasten am SMM3 dargestellt.
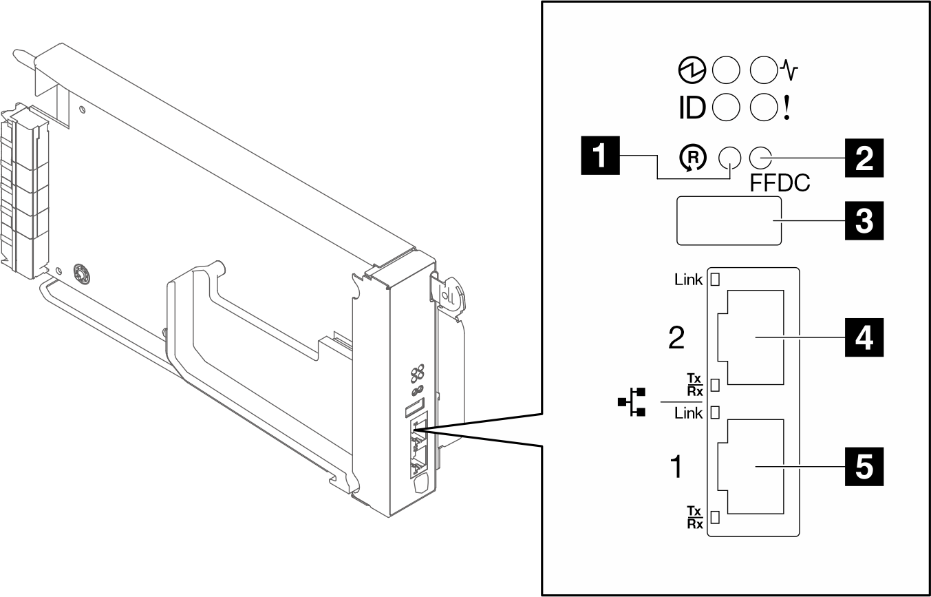
SMM3-Anschlüsse

1 Reset-Taste: Drücken Sie die Taste 1 bis 4 Sekunden lang, wird SMM3 neu gestartet. Drücken Sie die Taste länger als 4 Sekunden, wird SMM3 neu gestartet und lädt die Standardeinstellungen.
2 Servicemodus-Taste für USB-Anschluss (FFDC-Speicherauszug): Drücken Sie diese Taste, um FFDC-Protokolle zu erfassen, nachdem eine USB-Speichereinheit mit dem USB 2.0-Anschluss verbunden wurde.
3 USB 2.0-Anschluss: Verbinden Sie die USB-Speichereinheit mit diesem Anschluss und drücken Sie dann die Servicemodus-Taste für USB-Anschluss, um FFDC-Protokolle zu erfassen.
4 Ethernet-Anschluss 2: Verwenden Sie diesen Anschluss, um auf die SMM3-Verwaltung zuzugreifen.
5 Ethernet-Anschluss 1: Verwenden Sie diesen Anschluss, um auf die SMM3-Verwaltung zuzugreifen.
Das SMM3-Verwaltungsmodul verfügt über zwei Ethernet-Anschlüsse, die es ermöglichen, eine einzelne Ethernet-Verbindung über 3 Gehäuse und 48 Knoten in Reihe zu schalten, wodurch die Anzahl der für die Verwaltung eines gesamten Racks mit SC750 V4-Einbaurahmen und N1380 Gehäusen erforderlichen Ethernet-Switch-Anschlüsse erheblich reduziert wird.
Es wird empfohlen, den SMM3-Ethernet-Anschluss als dediziertes Standardverwaltungsnetzwerk zu verwenden. Wenn Sie den vorderen Ethernet-Anschluss des Knotens als dediziertes Verwaltungsnetzwerk verwenden möchten, finden Sie Anweisungen zur Netzwerkkonfiguration im XCC-Benutzerhandbuch.
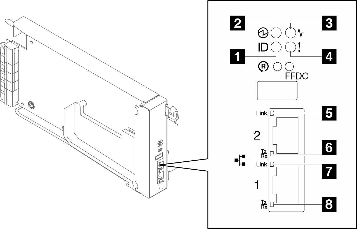
SMM3-Anzeigen

| 1 Identifikationsanzeige (blau) | 5 Verbindungsanzeige des Ethernet-Anschlusses 2 (RJ45) (grün) |
| 2 Betriebsanzeige (grün) | 6 Aktivitätsanzeige des Ethernet-Anschlusses 2 (RJ45) (grün) |
| 3 Statusanzeige (grün) | 7 Verbindungsanzeige des Ethernet-Anschlusses 1 (RJ45) (grün) |
| 4 Anzeige für Prüfprotokoll (gelb) | 8 Aktivitätsanzeige des Ethernet-Anschlusses 1 (RJ45) (grün) |
1 Identifikationsanzeige: Wenn diese Anzeige leuchtet (blau), zeigt dies die Gehäuseposition in einem Rack an.
2 Betriebsanzeige: Wenn diese Anzeige (grün) leuchtet, bedeutet dies, dass das SMM3 mit Strom versorgt wird.
Durchgehendes Leuchten: Auf dem SMM3 ist mindestens ein Problem aufgetreten.
Aus: Wenn das Gehäuse mit Strom versorgt wird, zeigt dies an, dass beim SMM3 mindestens ein Problem aufgetreten ist.
- Blinken: Das SMM3 funktioniert.
Während des Pre-Bootprozesses blinkt die Anzeige mit einer Frequenz von 1 Hz und wechselt dann in den Dauerbetrieb.
Die Anzeige blinkt mit 1 Hz: Die SMM3-Hardware funktioniert und kann initialisiert werden.
LED leuchtet ununterbrochen: SMM3 wird initialisiert.
Wenn der Pre-Bootprozess und die Initialisierung abgeschlossen sind und das SMM3 ordnungsgemäß funktioniert, blinkt die Anzeige mit 1 Hz (einmal pro Sekunde).
4 Prüfprotokollanzeige: Diese Anzeige leuchtet (gelb), wenn ein Systemfehler aufgetreten ist. Weitere Informationen finden Sie im SMM3-Ereignisprotokoll.
5 Verbindungsanzeige des Ethernet-Anschlusses 2 (RJ45): Wenn diese Anzeige leuchtet (grün), weist dies auf eine aktive Verbindung über das Verwaltungsnetzwerk bis zum Fernverwaltungs‑ und Konsolenanschluss 2 (Ethernet) hin.
6 Aktivitätsanzeige des Ethernet-Anschlusses 2 (RJ45): Wenn diese Anzeige blinkt (grün), weist dies auf Aktivität über das Verwaltungsnetzwerk bis zum Fernverwaltungs‑ und Konsolenanschluss 2 (Ethernet) hin.
7 Verbindungsanzeige des Ethernet-Anschlusses 1 (RJ45): Wenn diese Anzeige leuchtet (grün), weist dies auf eine aktive Verbindung über das Verwaltungsnetzwerk bis zum Fernverwaltungs‑ und Konsolenanschluss 1 (Ethernet) hin.
8 Aktivitätsanzeige des Ethernet-Anschlusses 1 (RJ45): Wenn diese Anzeige blinkt (grün), weist dies auf Aktivität über das Verwaltungsnetzwerk bis zum Fernverwaltungs‑ und Konsolenanschluss 1 (Ethernet) hin.