System Management Module 3 (SMM 3)
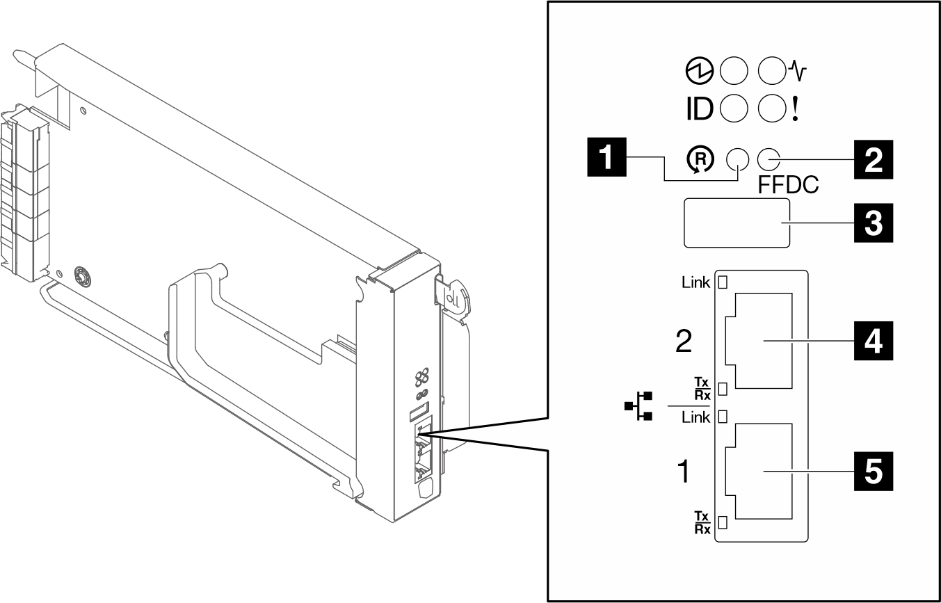
En la siguiente ilustración, se muestran los conectores y botones del módulo SMM3.
Conectores del SMM3

1 Botón de restablecimiento: presione el botón de 1 a 4 segundos y el SMM3 se reiniciará. Presiónelo por más de 4 segundos y el SMM3 se reiniciará y cargará los valores predeterminados.
2 Botón de modo de servicio de puerto USB (volcado de FFDC): presione este botón para recopilar los registros de FFDC luego de insertar el dispositivo de almacenamiento USB en el conector USB 2.0.
3 Conector USB 2.0: inserte el dispositivo de almacenamiento USB en este conector y luego presione el botón del modo de servicio del puerto USB para recopilar los registros de FFDC.
4 Puerto Ethernet 2: utilice este conector para acceder a la gestión del SMM3.
5 Puerto Ethernet 1: utilice este conector para acceder a la gestión del SMM3.
El módulo de gestión SMM3 tiene dos puertos Ethernet, lo que permite conectar en cadena una única conexión Ethernet en 3 alojamientos y 48 nodos, lo que reduce significativamente el número de puertos de conmutador Ethernet necesarios para gestionar un bastidor completo de bandejas SC750 V4 y alojamientos N1380
Se recomienda utilizar el puerto Ethernet SMM3 como red de gestión dedicada predeterminada. Si es necesario utilizar el puerto Ethernet frontal del nodo como red de gestión dedicada, consulte la Guía del usuario de XCC para obtener instrucciones de configuración de red.
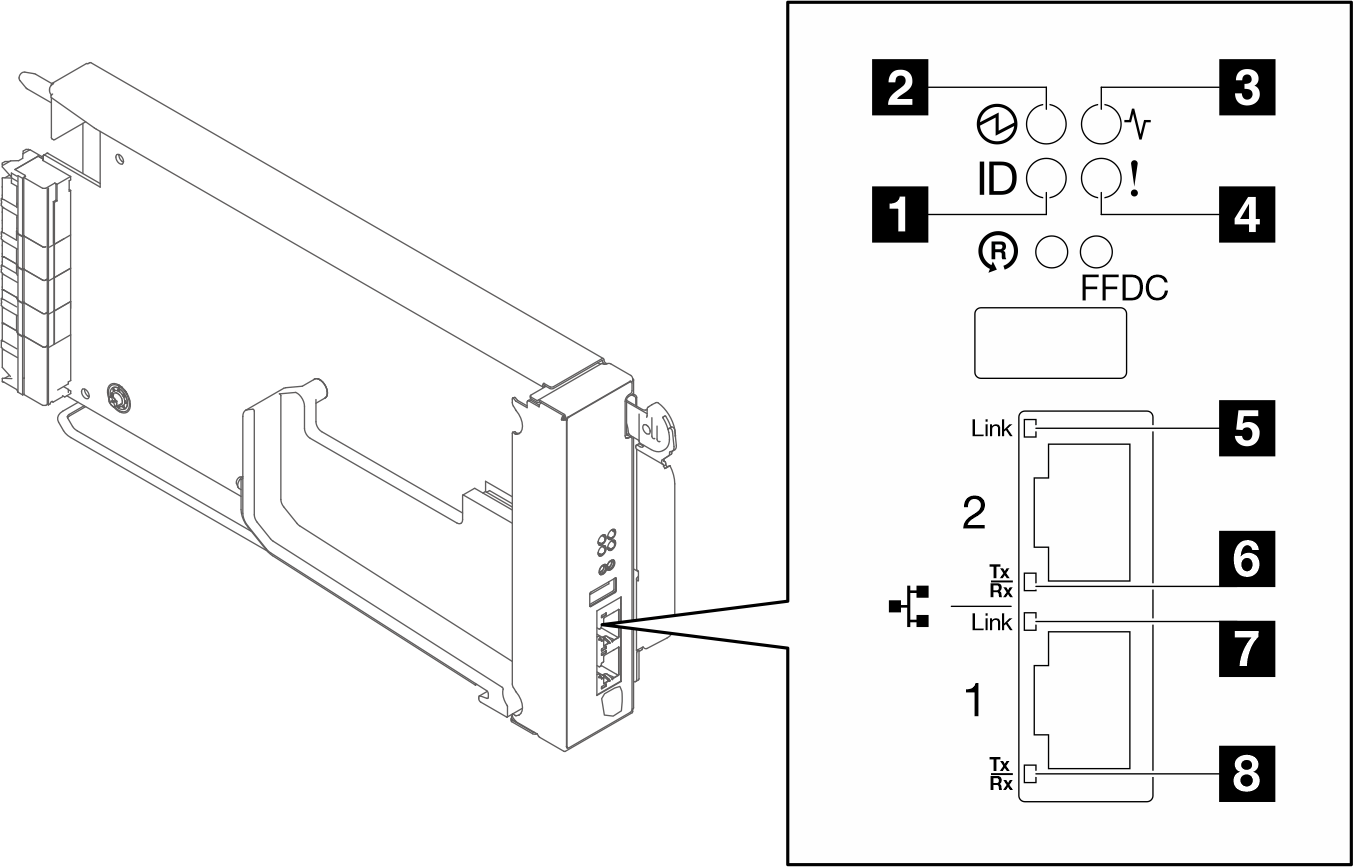
LED del SMM3

| 1 LED de identificación (azul) | 5 LED de enlace del puerto Ethernet 2 (RJ-45) (verde) |
| 2 LED de encendido (verde) | 6 LED de actividad del puerto Ethernet 2 (RJ-45) (verde) |
| 3 LED de estado (verde) | 7 LED de enlace del puerto Ethernet 1 (RJ-45) (verde) |
| 4 LED de registro de verificación (amarillo) | 8 LED de actividad del puerto Ethernet 1 (RJ-45) (verde) |
1 LED de identificación: cuando este LED está encendido (azul), indica la ubicación del alojamiento en un bastidor.
2 LED de encendido: cuando este LED está encendido (verde), indica que el SMM3 tiene alimentación.
Encendido continuo: el SMM3 detectó uno o varios problemas.
Apagado: cuando está encendida la alimentación del alojamiento, indica que el SMM3 detectó uno o varios problemas.
- Parpadeo: el SMM3 está en funcionamiento.
Durante el proceso de prearranque, el LED parpadea a 1 Hz y luego cambia para seguir encendido.
El LED parpadea a 1 Hz: el hardware de SMM3 está funcionando y listo para inicializarse.
El LED sigue encendido: SMM3 se está inicializando.
Cuando se completan el proceso de prearranque y la inicialización y SMM3 funciona correctamente, el LED parpadea a 1 Hz (una vez por segundo).
4 LED de registro de verificación: cuando este LED está encendido (amarillo), esto indica que se ha producido un error del sistema. Compruebe el registro de sucesos del SMM3 para obtener información adicional.
5 LED de enlace del puerto Ethernet 2 (RJ-45): cuando este LED está encendido (verde), indica que hay una conexión activa a través del puerto (Ethernet) 2 de la consola y gestión remota a la red de gestión.
6 LED de actividad del puerto Ethernet 2 (RJ-45): cuando este LED parpadea (verde), indica que hay actividad a través del puerto (Ethernet) 2 de la consola y gestión remota sobre la red de gestión.
7 LED de enlace del puerto Ethernet 1 (RJ-45): cuando este LED está encendido (verde), indica que hay una conexión activa a través del puerto (Ethernet) 1 de la consola y gestión remota a la red de gestión.
8 LED de actividad del puerto Ethernet 1 (RJ-45): cuando este LED parpadea (verde), indica que hay actividad a través del puerto (Ethernet) 1 de la consola y gestión remota sobre la red de gestión.