SMM 3(System Management Module 3)
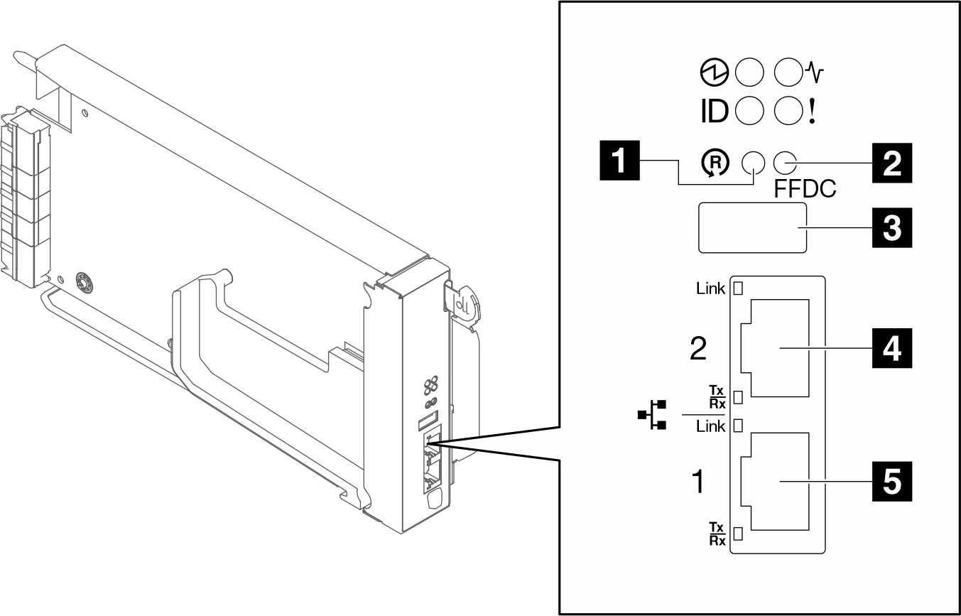
다음 그림은 SMM3 모듈의 커넥터 및 버튼을 보여줍니다.
SMM3 커넥터

1 재설정 버튼: 버튼을 1~4초간 눌러 SMM3를 재부팅합니다. 4초 넘게 누르면 SMM3가 재부팅되고 기본 설정으로 로드됩니다.
2 USB 포트 서비스 모드 버튼(FFDC 덤프): USB 2.0 커넥터에 USB 스토리지 장치를 삽입한 후 이 버튼을 누르면 FFDC 로그를 수집합니다.
3 USB 2.0 커넥터: 이 커넥터에 USB 스토리지 장치를 삽입한 다음 USB 포트 서비스 모드 버튼을 누르면 FFDC 로그를 수집합니다.
4 이더넷 포트 2: 이 커넥터를 사용하여 SMM3 관리에 액세스합니다.
5 이더넷 포트 1: 이 커넥터를 사용하여 SMM3 관리에 액세스합니다.
SMM3 관리 모듈에는 3개의 엔클로저와 48개의 노드에 걸쳐 단일 이더넷 연결을 데이지 체인 방식으로 연결할 수 있는 2개의 이더넷 포트가 있어 SC750 V4 트레이 및 N1380 엔클로저의 전체 랙을 관리하는 데 필요한 이더넷 스위치 포트 수를 크게 줄일 수 있습니다
SMM3 이더넷 포트를 기본 전용 관리 네트워크로 사용하는 것이 좋습니다. 노드 전면 이더넷 포트를 전용 관리 네트워크로 사용해야 하는 경우 XCC 사용 설명서에서 네트워크 구성 지침을 참조하십시오.
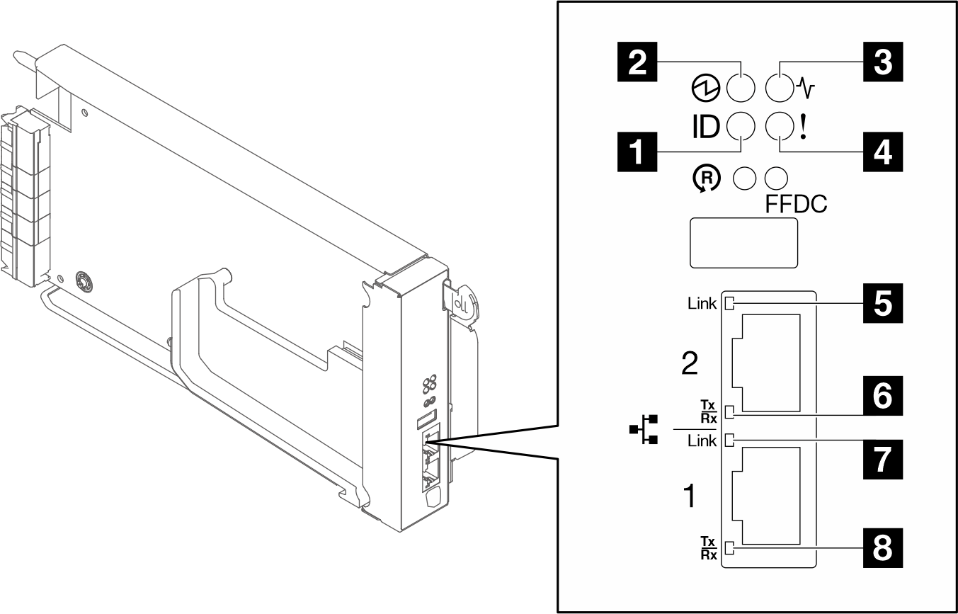
SMM3 LED

| 1 식별 LED(파란색) | 5 이더넷 포트 2 링크(RJ-45) LED(녹색) |
| 2 전원 LED(녹색) | 6 이더넷 포트 2 활동(RJ-45) LED(녹색) |
| 3 상태 LED(녹색) | 7 이더넷 포트 1 링크(RJ-45) LED(녹색) |
| 4 검사 로그 LED(노란색) | 8 이더넷 포트 1 활동(RJ-45) LED(녹색) |
1 식별 LED: 이 LED가 켜져 있으면(파란색) 랙의 엔클로저 위치를 나타냅니다.
2 전원 켜짐 LED: 이 LED가 켜져 있으면(녹색) SMM3에 전원이 연결되었음을 나타냅니다.
계속해서 켜짐: SMM3에 하나 이상의 문제가 발생했습니다.
꺼짐: 엔클로저 전원이 켜진 경우 SMM3에 하나 이상의 문제가 발생했음을 나타냅니다.
- 깜박임: SMM3가 작동 중입니다.
사전 부팅 프로세스 중 LED가 1Hz로 깜박인 다음 계속 켜진 상태로 바뀝니다.
LED가 1Hz에서 깜박임: SMM3 하드웨어가 작동 중이며 초기화할 준비가 되었습니다.
LED가 계속 켜져 있음: SMM3가 초기화 중입니다.
사전 부팅 프로세스 및 초기화가 완료되고 SMM3이 올바르게 작동하면 LED가 1Hz(초당 한 번)로 깜박입니다.
4 로그 검사 LED: 이 LED가 켜져 있으면(노란색) 시스템 오류가 발생했음을 나타냅니다. 추가 정보는 SMM3 이벤트 로그를 확인하십시오.
5 이더넷 포트 2 링크(RJ-45) LED: 이 LED가 켜져 있으면(녹색) 원격 관리 및 콘솔(이더넷) 포트 2를 통해 관리 네트워크에 대한 활성 연결이 있음을 나타냅니다.
6 이더넷 포트 2 활동(RJ-45) LED: 이 LED가 깜박이면(녹색) 원격 관리 및 콘솔(이더넷) 포트 2를 통해 관리 네트워크에 대한 활동이 있음을 나타냅니다.
7 이더넷 포트 1 링크(RJ-45) LED: 이 LED가 켜져 있으면(녹색) 원격 관리 및 콘솔(이더넷) 포트 1을 통해 관리 네트워크에 대한 활성 연결이 있음을 나타냅니다.
8 이더넷 포트 1 활동(RJ-45) LED: 이 LED가 깜박이면(녹색) 원격 관리 및 콘솔(이더넷) 포트 1을 통해 관리 네트워크에 대한 활동이 있음을 나타냅니다.