System Management Module 3 (SMM 3)
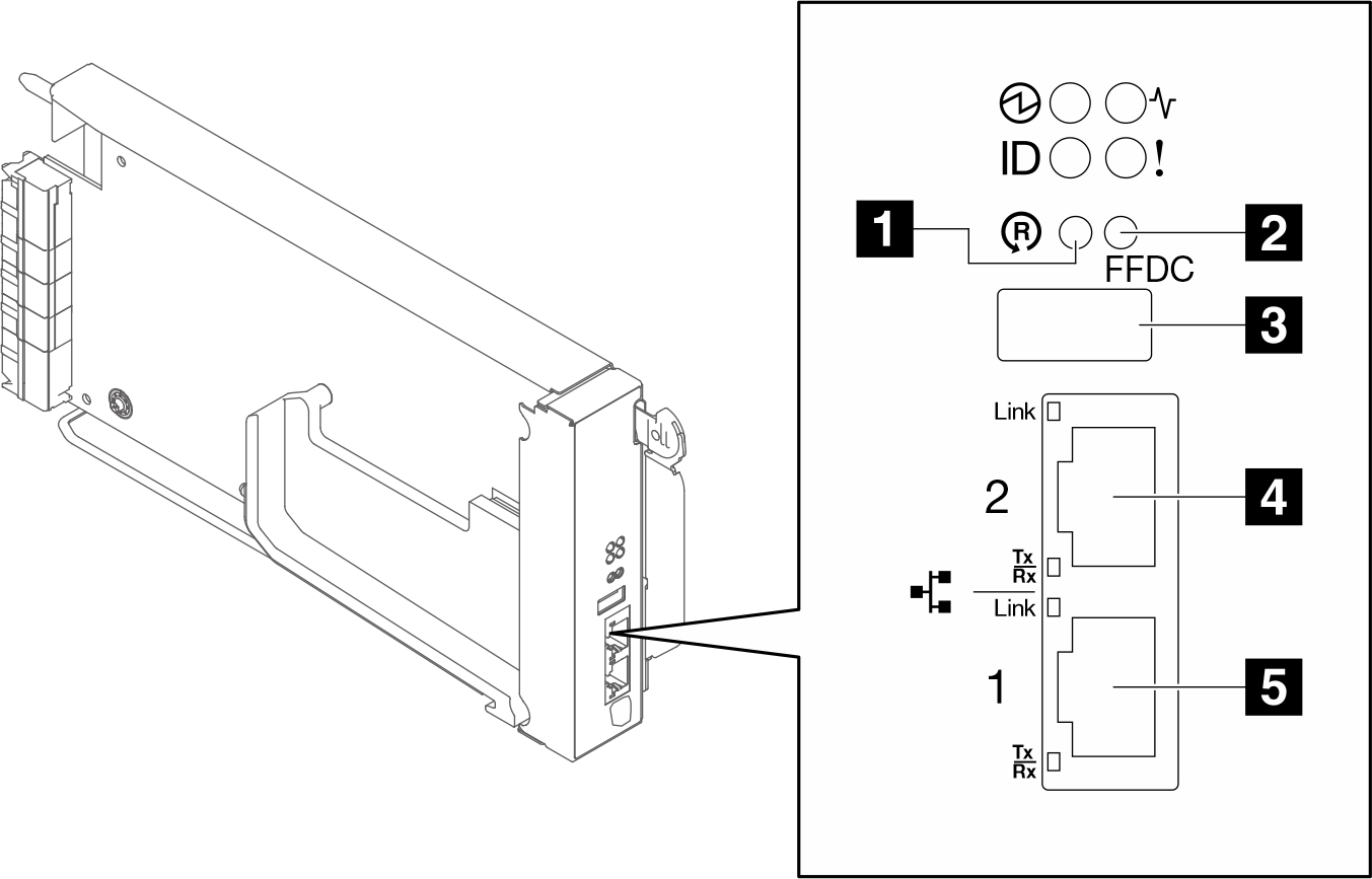
次の図は、SMM3 モジュール上のコネクターおよびボタンを示しています。
SMM3 コネクター

1 リセット・ボタン: 1 ~ 4 秒間ボタンを押すと、SMM3 がリブートします。4 秒以上押すと、SMM3 がリブートし、デフォルト設定がロードされます。
2 USB ポートのサービス・モード・ボタン (FFDC ダンプ): USB 2.0 コネクターに USB ストレージ・デバイスを挿入した後 FFDC ログを収集するには、このボタンを押します。
3 USB 2.0 コネクター: このコネクターに USB ストレージ・デバイスを挿入し、USB ポートのサービス・モード・ボタンを押して FFDC ログを収集します。
4 イーサネット・ポート 2: SMM3 の管理にアクセスするには、このコネクターを使用します。
5 イーサネット・ポート 1: SMM3 の管理にアクセスするには、このコネクターを使用します。
SMM3 管理モジュールには 2 つのイーサネット・ポートがあり、1 つのイーサネット接続を 3 つのエンクロージャーと 48 のノード間でデイジーチェーン接続できるため、SC750 V4 トレイと N1380 エンクロージャーのラック全体の管理に必要なイーサネット・スイッチ・ポートの数を大幅に削減できます
SMM3 イーサネット・ポートをデフォルトの専用管理ネットワークとして使用することをお勧めします。ノード前面イーサネット・ポートを専用の管理ネットワークとして使用する必要がある場合は、「XCC ユーザー・ガイド」でネットワーク構成手順を参照してください。
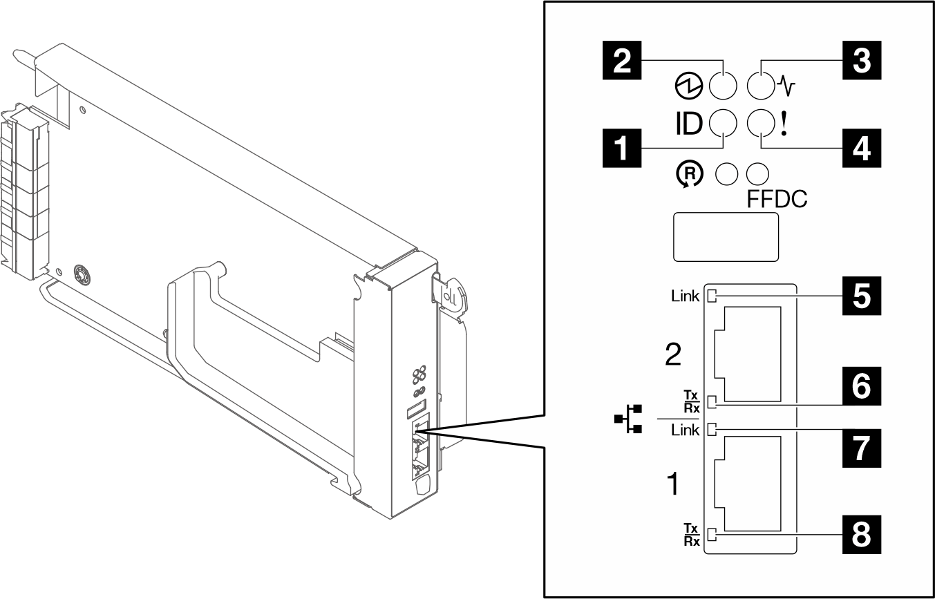
SMM3 LED

| 1 識別 LED (青色) | 5 イーサネット・ポート 2 リンク (RJ-45) LED (緑色) |
| 2 電源 LED (緑色) | 6 イーサネット・ポート 2 活動 (RJ-45) LED (緑色) |
| 3 状況 LED (緑色) | 7 イーサネット・ポート 1 リンク (RJ-45) LED (緑色) |
| 4 チェック・ログ LED (黄色) | 8 イーサネット・ポート 1 活動 (RJ-45) LED (緑色) |
1 識別 LED: この LED が点灯 (青色) している場合、ラックのエンクロージャー の場所を示しています。
2 電源 LED: この LED (緑色) が点灯している場合、SMM3 に電力が供給されていることを示しています。
継続的にオン: SMM3 が 1 つ以上の問題を検出しました。
オフ: エンクロージャーの電源がオンの場合、SMM3 が 1 つ以上の問題を検出したことを示しています。
- 点滅: SMM3 が動作しています。
プリブート・プロセス中、LED は 1 Hz で点滅し、その後点灯し続けるように変化します。
LED が 1 Hz で点滅: SMM3 ハードウェアは動作しており、初期化の準備ができています。
LED が点灯し続ける: SMM3 は初期化中です。
プリブート・プロセスと初期化が完了し、SMM3 が正しく動作している場合、LED は 1 Hz で点滅します (1 秒に 1 回)。
4 チェック・ログ LED: この LED が点灯している場合 (黄色)、システム・エラーが発生したことを示しています。SMM3 イベント・ログを調べて、追加情報があるかどうかを確認してください。
5 イーサネット・ポート 2 リンク (RJ-45) LED: この LED が点滅 (緑色) しているときは、管理ネットワーク上にリモート管理およびコンソール (イーサネット) ポート 2 を介したアクティブ接続があることを示しています。
6 イーサネット・ポート 2 活動 (RJ-45) LED: この LED が点滅 (緑色) しているときは、管理ネットワーク上にリモート管理およびコンソール (イーサネット) ポート 2 を介したアクティビティーがあることを示しています。
7 イーサネット・ポート 1 リンク (RJ-45) LED: この LED が点滅 (緑色) しているときは、管理ネットワーク上にリモート管理およびコンソール (イーサネット) ポート 1 を介したアクティブ接続があることを示しています。
8 イーサネット・ポート 1 活動 (RJ-45) LED: この LED が点滅 (緑色) しているときは、管理ネットワーク上にリモート管理およびコンソール (イーサネット) ポート 1 を介したアクティビティーがあることを示しています。