System Management Module 3 (SMM 3)
La figure suivante présente les connecteurs et les boutons situés sur le module SMM3.
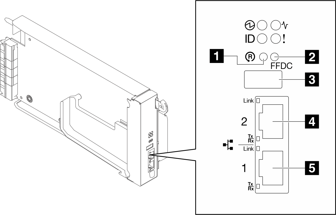
Connecteurs SMM3

1 Bouton de réinitialisation : appuyez sur le bouton pendant 1 à 4 secondes, le SMM3 redémarre. Appuyez sur ce bouton pendant plus de 4 secondes, le SMM3 redémarre et charge les paramètres par défaut.
2 Bouton de maintenance du port USB (vidage FFDC) : appuyez sur ce bouton pour collecter les journaux FFDC après avoir inséré un dispositif de stockage USB dans le connecteur USB 2.0.
3 Connecteur USB 2.0 : insérez le dispositif de stockage USB dans ce connecteur et appuyez sur le bouton de maintenance du port USB pour collecter les journaux FFDC.
4 Port Ethernet 2 : utilisez ce connecteur pour accéder à la gestion du SMM3.
5 Port Ethernet 1 : utilisez ce connecteur pour accéder à la gestion du SMM3.
Le module de gestion SMM3 dispose de deux ports Ethernet, ce qui permet de connecter une seule connexion Ethernet en série à 3 boîtiers et 48 nœuds, ce qui réduit considérablement le nombre de ports de commutateur Ethernet nécessaires pour gérer une armoire entière de plateaux SC750 V4 et de boîtiers N1380
Il est recommandé d’utiliser le port Ethernet SMM3 comme réseau de gestion dédié par défaut. Si vous devez utiliser le port Ethernet avant du nœud comme réseau de gestion dédié, reportez-vous au guide d’utilisation XCC pour obtenir des instructions de configuration réseau.
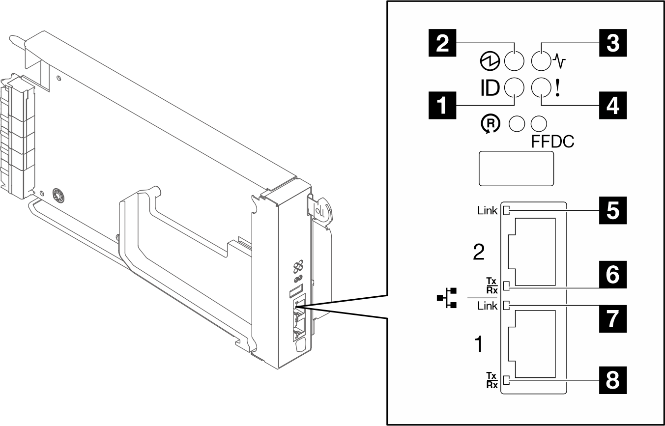
Voyants du SMM3

| 1 Voyant d’identification (bleu) | 5 Voyant de liaison du port Ethernet 2 (RJ-45, vert) |
| 2 Voyant d'alimentation (vert) | 6 Voyant d’activité du port Ethernet 2 (RJ-45, vert) |
| 3 Voyant d’état (vert) | 7 Voyant de liaison du port Ethernet 1 (RJ-45, vert) |
| 4 Voyant de vérification du journal (jaune) | 8 Voyant d’activité du port Ethernet 1 (RJ-45, vert) |
1 Voyant d’identification : lorsque ce voyant est allumé (bleu), il indique l’emplacement du boîtier dans une armoire.
2 Voyant d’alimentation : lorsque ce voyant est allumé (vert), cela indique que le SMM3 est alimenté.
Allumé en continu : le SMM3 a rencontré un ou plusieurs problèmes.
Éteint : lorsque l’alimentation du boîtier est activée, cela indique que le SMM3 a rencontré un ou plusieurs problèmes.
- Clignotant : le SMM3 fonctionne normalement.
Pendant le processus de pré-démarrage, le voyant clignote à 1 Hz, puis reste allumé.
Le voyant clignote à 1 Hz : Le matériel SMM3 fonctionne et est prêt pour l’initialisation.
Le voyant reste allumé : SMM3 est en cours d’initialisation.
Lorsque le processus de pré-amorçage et d’initialisation est terminé et que le SMM3 fonctionne correctement, le voyant clignote à 1 Hz (une fois par seconde).
4 Voyant de vérification du journal : lorsque ce voyant (jaune) est allumé, cela signifie qu’une erreur système s’est produite. Vérifiez le journal des événements du SMM3 pour obtenir plus d’informations.
5 Voyant de liaison du port Ethernet 2 (RJ-45) : lorsque ce voyant est allumé (vert), cela indique qu’il existe une connexion active au réseau de gestion via le port 2 (Ethernet) de gestion à distance et de console.
6 Voyant d’activité du port Ethernet 2 (RJ-45) : lorsque ce voyant clignote (vert), cela indique qu’il existe une activité sur le réseau de gestion via le port 2 (Ethernet) de console et de gestion à distance.
7 Voyant de liaison du port Ethernet 1 (RJ-45) : lorsque ce voyant est allumé (vert), cela indique qu’il existe une connexion active au réseau de gestion via le port 1 (Ethernet) de gestion à distance et de console.
8 Voyant d’activité du port Ethernet 1 (RJ-45) : lorsque ce voyant clignote (vert), cela indique qu’il existe une activité sur le réseau de gestion via le port 1 (Ethernet) de console et de gestion à distance.