多岐管の取り付け
多岐管を取り付けるには、以下の情報を参照してください。
このタスクについて
必要なツール
- FRU for screw driver からの拡張 PH2 ドライバー
SMM3 MANI conduction plate gap pad (新しい下部多岐管を取り付ける場合)
- SMM3 MANI conduction plate (MANI 導電プレートを交換する場合)
注意
水は皮膚や眼に刺激を与えることがあります。潤滑剤に直接触れないでください。
S002


注意
装置の電源制御ボタンおよびパワー・サプライの電源スイッチは、装置に供給されている電流をオフにするものではありません。デバイスには 2 本以上の電源コードが使われている場合があります。デバイスから完全に電気を取り除くには電源からすべての電源コードを切り離してください。
S038


注意
この手順では、目を保護する防具を装着する必要があります。
S040


注意
この手順では、防護手袋を装着する必要があります。
S042


危険
危険
本製品に含まれる水または水溶液による感電のリスクがあります。濡れた手で、または水がこぼれた状態で、通電している機器の上や近くで作業しないでください。
重要
安全に作業を行うために、取り付けのガイドラインおよび 安全検査のチェックリストをお読みください。
計算冷却システムで使用された化学処理した水を使用する場合は、必ず、適切な処理手順に従ってください。化学物質安全性データ・シート (MSDS) および安全に関する情報が化学処理水の提供業者から提供されていること、および化学処理水の提供業者が推奨する適切な個人防護具 (PPE) が入手可能であることを確認してください。保護手袋と眼鏡を予防措置として推奨します。
- 多岐管の取り外しまたは取り付けを行うときは、下の図で指定されているセクションで多岐管を持ってください。図 1. 多岐管のタッチ・ポイント

動画で見る
- この手順を説明した動画については、YouTube をご覧ください。
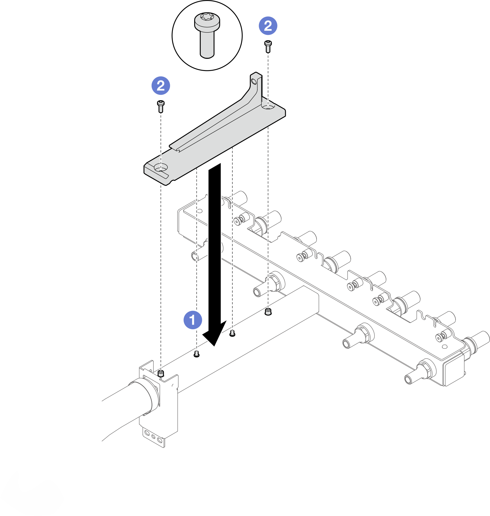
手順
まず、多岐管を取り付けます (多岐管の取り付けを参照)。次に、多岐管のエア抜き処理を実行します (多岐管のエア抜き処理の実行を参照)。
多岐管を取り付けます
多岐管のエア抜き処理の実行
完了したら
SMM3 を取り付けます。SMM3 の取り付けを参照してください。
空のフィラーを取り付けます。空のフィラーの取り付けを参照してください。
ラック・フレームの面ファスナー・タイを使用して、多岐管ホースを固定します。面ファスナー・タイの位置については、以下の図を参照してください。
図 21. 多岐管ホースを固定するための面ファスナー・タイ
注
N1380 エンクロージャーがラック内でシリアル・フロー構成として機能するには、空のフィラーにあるホース・ガイド・ラベルに従ってください。詳しくは、以下の表と図を参照してください。
| A 1 つ目のエンクロージャー |
| B 2 つ目のエンクロージャー |
| 1 1 つ目のエンクロージャーのホース・サプライ - ファシリティー・サプライに接続 |
| 2 1 つ目のエンクロージャーのホース・リターン - 2 つ目のエンクロージャーのホース・サプライに接続 |
| 3 2 つ目のエンクロージャーのホース・リターン - ファシリティー・リターンに接続 |
| 青はサプライを示し、赤はリターンを示しています。 |
図 22. シリアル水流構成多岐管ホース接続


フィードバックを送る





















