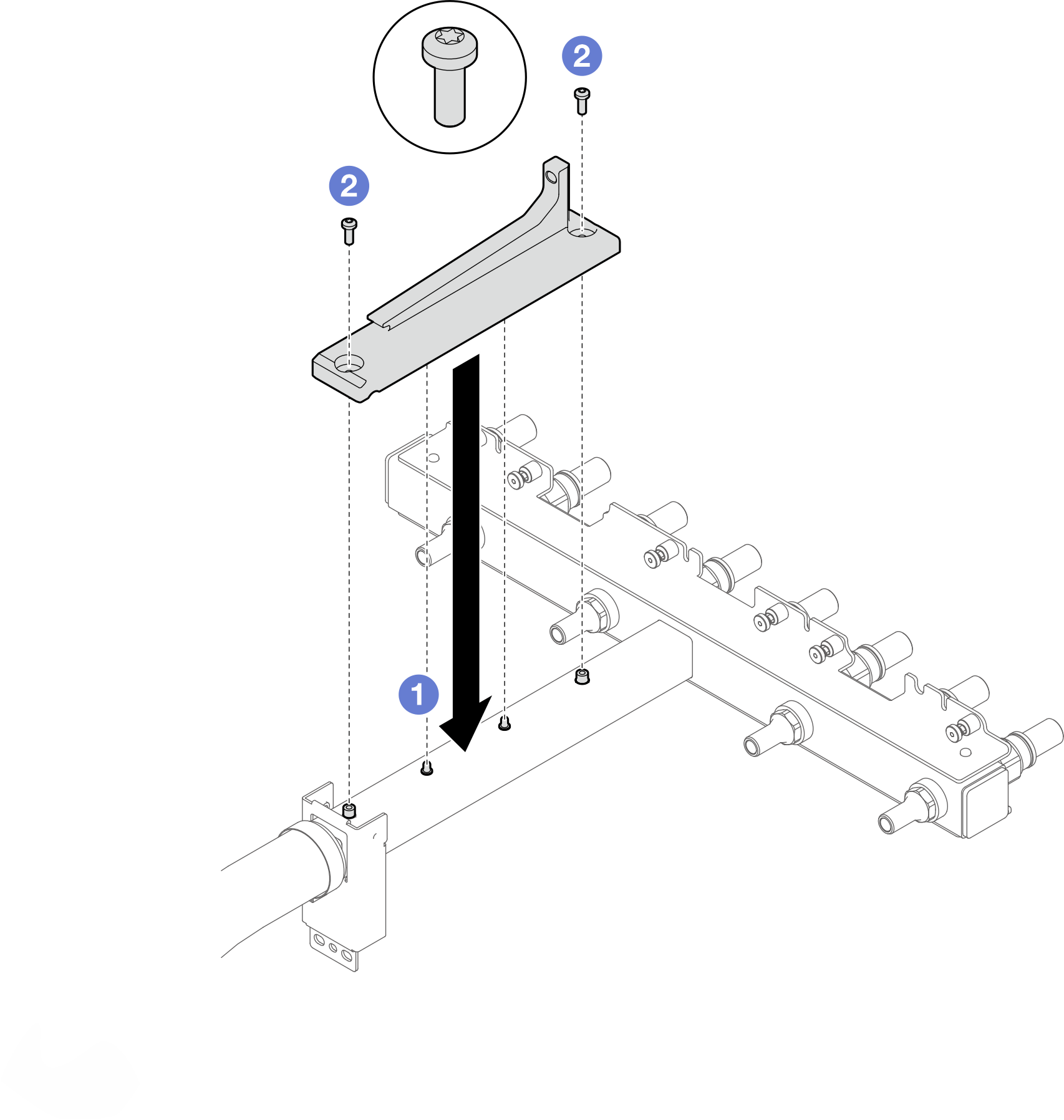
Install the manifold
Use this information to install the manifold.
About this task
- Extended PH2 screwdriver from FRU for screw driver
SMM3 MANI conduction plate gap pad, if installing a new lower manifold
- SMM3 MANI conduction plate , if replacing the MANI conduction plate
The water might cause irritation to the skin and eyes. Avoid direct contact with the lubricant.




Read Installation Guidelines and Safety inspection checklist to ensure that you work safely.
Ensure proper handling procedures are followed when working with any chemically treated water used in the compute rack cooling system. Ensure that material safety data sheets (MSDS) and safety information are provided by the water chemical treatment supplier and that proper personal protective equipment (PPE) is available as recommended by the water chemical treatment supplier. Protective gloves and eyewear may be recommended as a precaution.
- When removing or installing the manifold, hold the manifold by the sections specified in the illustration below.Figure 1. Manifold touching points

- A video of this procedure is available at YouTube.
Procedure
Install the manifolds
Reinstall the tray back to the enclosure
Perform manifolds bleeding
Install the SMM3. See Install the SMM3.
Install the blank filler. See Install the blank filler.
Use the Velcro ties on the rack frame to secure the manifold hoses. See the illustrations below for the locations of the Velcro ties.
Figure 28. Velcro ties for securing manifold hoses
| A First enclosure |
| B Second enclosure |
| 1 Hose supply of first enclosure—connecting to facility supply |
| 2 Hose return of first enclosure—connecting to hose supply of second enclosure |
| 3 Hose return of second enclosure—connecting to facility return |
| Blue indicates supply, and red indicates return. |





























