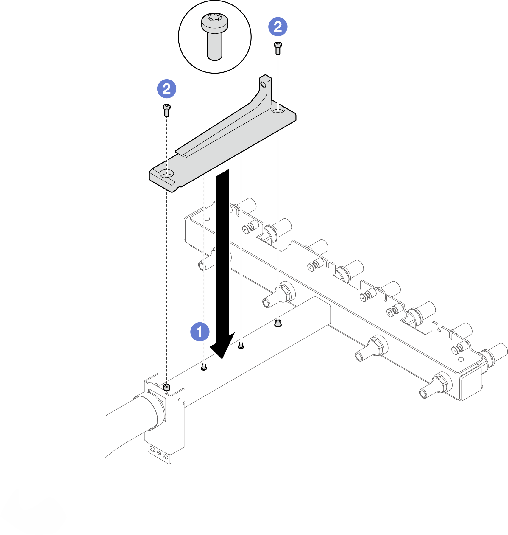
매니폴드 설치
다음 정보를 사용하여 매니폴드를 설치하십시오.
이 작업 정보
필수 도구
- FRU for screw driver 의 긴 PH2 드라이버
SMM3 MANI conduction plate gap pad - 새 하부 매니폴드 설치 시
- SMM3 MANI conduction plate - 매니 전도판 교체 시
경고
물이 피부와 눈에 자극을 줄 수 있습니다. 윤활제와 직접 접촉하지 마십시오.
S002


경고
장치의 전원 제어 버튼과 전원 공급 장치의 전원 스위치는 장치에 공급되는 전류를 차단하지 않습니다. 또한 장치에는 둘 이상의 전원 코드가 있을 수 있습니다. 장치로 공급되는 전류를 제거하려면 모든 전원 코드가 전원에서 분리되어 있는지 확인하십시오.
S038


경고
이 절차에는 눈 보호 장비를 착용해야 합니다.
S040


경고
이 절차에는 보호 장갑을 착용해야 합니다.
S042


위험
위험
본 제품에 들어있는 물이나 수용액으로 인해 감전될 위험이 있습니다. 손이 젖은 경우 또는 물이 흐른 경우에는 전류가 흐르는 장비나 그 근처에서 작업하지 마십시오.
주의
절차 보기
- 이 절차의 비디오는 YouTube에서 볼 수 있습니다.
절차
먼저 매니폴드를 설치하십시오(매니폴드 설치 참조). 그런 다음, 매니폴드 배기를 완료하십시오(매니폴드 배기 수행 참조).
매니폴드 설치
매니폴드 배기 수행
완료한 후
SMM3를 설치합니다. SMM3 설치의 내용을 참조하십시오.
빈 필러를 설치합니다. 빈 필러 설치의 내용을 참조하십시오.
랙 프레임의 벨크로 타이를 사용하여 매니폴드 호스를 고정하십시오. 벨크로 타이의 위치는 아래 그림을 참조하십시오.
그림 21. 매니폴드 호스 고정을 위한 벨크로 타이
주
N1380 엔클로저가 랙에서 직렬 흐름 구성으로 작동하는 경우 빈 필러의 호스 가이드 레이블을 따르십시오. 자세한 내용은 아래 표와 그림을 참조하십시오.
| A 첫 번째 엔클로저 |
| B 두 번째 엔클로저 |
| 1 첫 번째 엔클로저의 호스 공급 - 설비 공급에 연결 |
| 2 첫 번째 엔클로저의 호스 리턴 - 두 번째 엔클로저의 호스 공급에 연결 |
| 3 두 번째 엔클로저의 호스 리턴 - 설비 리턴에 연결 |
| 파란색은 공급을 나타내고 빨간색은 리턴을 나타냅니다. |
그림 22. 직렬 물 흐름 구성 매니폴드 호스 연결


피드백 보내기






















