安装歧管
按以下信息安装歧管。
关于本任务
必备工具
- FRU for screw driver 中提供的加长型 PH2 螺丝刀
SMM3 MANI conduction plate gap pad(如果安装新的下歧管)
- SMM3 MANI conduction plate (如果更换歧管导电板)
警告
水可能会引起皮肤和眼睛不适。请避免直接接触润滑液。
S002


警告
设备上的电源控制按钮和电源上的电源开关不会切断设备的供电。设备也可能有多根电源线。要使设备彻底断电,请确保从电源上拔下所有电源线。
S038


警告
此过程应佩戴护目装置。
S040


警告
此过程应佩戴保护手套。
S042


危险
危险
本产品中存在水或水溶液,因此会有触电危险。请避免用湿手或在有溅水的情况下操作或靠近带电设备。
注意
观看操作过程
- 关于此过程的视频请见 YouTube。
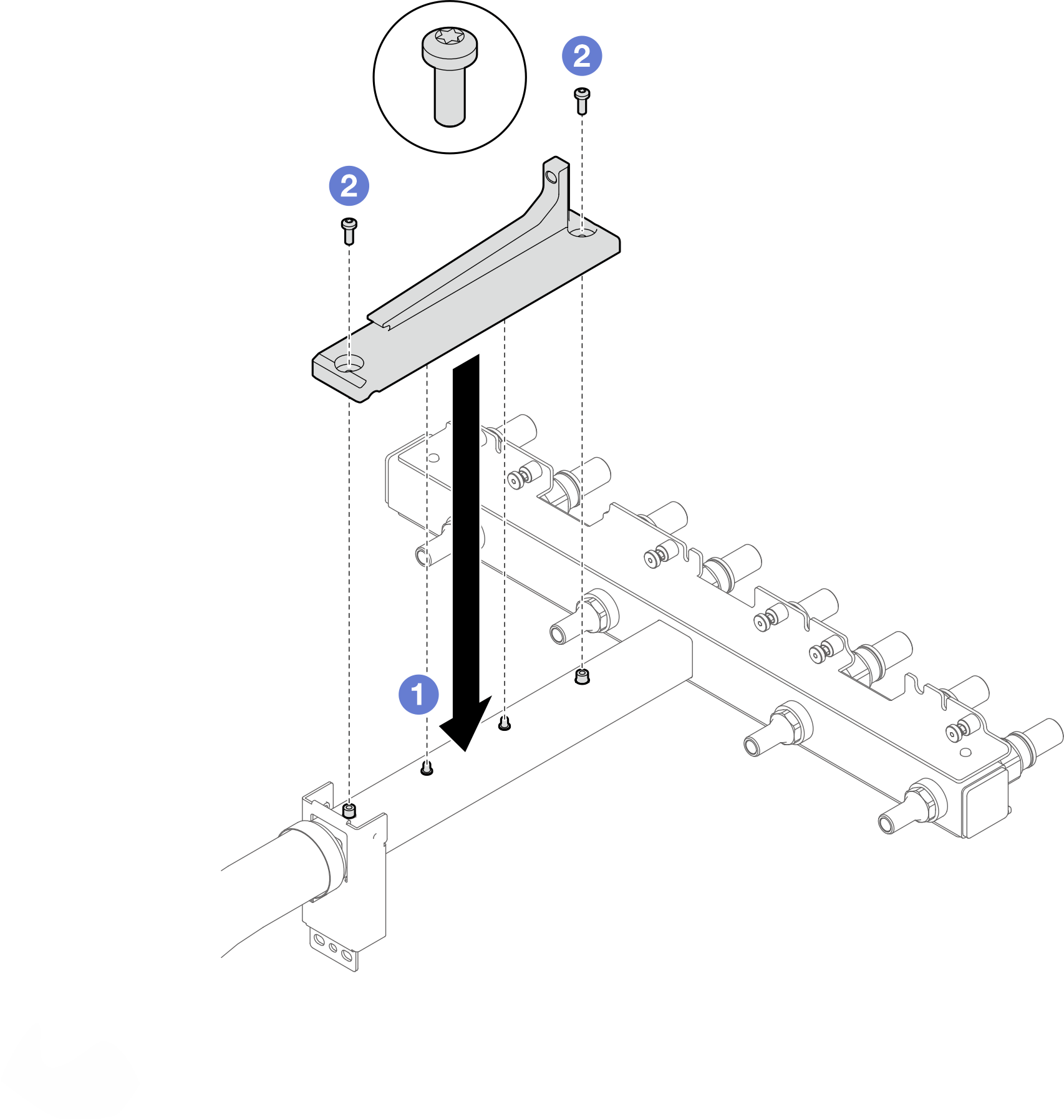
过程
安装歧管
提供反馈
























