ConnectX-7 NDR 200-Adapterkartenbaugruppe installieren
Mithilfe der Informationen in diesem Abschnitt können Sie eine ConnectX-7 NDR 200-Adapterkartenbaugruppe installieren.
Zu dieser Aufgabe
Schraubendreher für T10 und PH1 Schrauben
Waterloop Miscellaneous Kit (SC750 V4) .
CX7 NDR200 Gap Pad (SC750 V4)
CX7 NDR200 Conduction Plate (bei der ersten Installation von ConnectX-7 NDR 200)
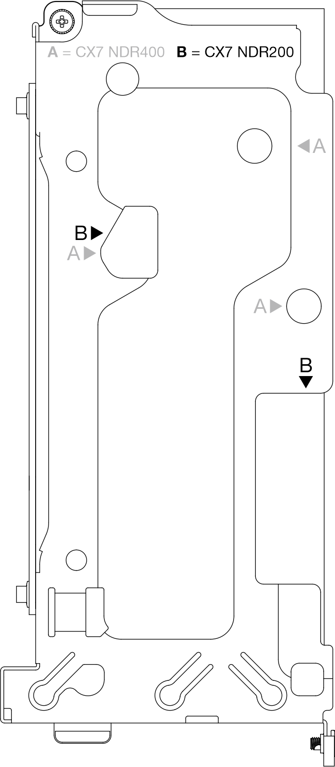
Informationen zu Position und Anleitung der Gap-Pads finden Sie unter Identifikation und Position von Gap-Pad.
Reinigen Sie die Oberfläche vor dem Austausch des Gap-Pads vorsichtig mit einem alkoholhaltigen Reinigungstuch.
Halten Sie das Gap-Pad vorsichtig fest, um eine Verformung zu vermeiden. Stellen Sie sicher, dass keine Schraubenlöcher oder Öffnungen durch das Material des Gap-Pads verdeckt werden.
Lesen Sie Installationsrichtlinien und Sicherheitsprüfungscheckliste, um sicherzustellen, dass Sie sicher arbeiten.
Schalten Sie den entsprechenden DWC Einbaurahmen aus, auf dem Sie die Aufgabe ausführen werden.
Ziehen Sie alle externen Kabel vom Gehäuse ab.
Ziehen Sie die QSFP-Kabel von der Lösung ab. Dies erfordert zusätzliche Kraft.
- Ein Video zu diesem Verfahren ist auf YouTube.
Vorgehensweise
Schließen Sie die Kabel bei gemeinsamen E/A- oder Socket Direct-Konfigurationen an die Systemplatine an. Siehe Interne Kabelführung.
Installieren Sie die Querstreben. Siehe Querstreben installieren.
Installieren Sie die Abdeckung des Einbaurahmens. Siehe Abdeckung des Einbaurahmens installieren.
Installieren Sie den Einbaurahmen im Gehäuse. Siehe Einbaurahmen im Gehäuse installieren.
- Schließen Sie alle erforderlichen externen Kabel an der Lösung an.AnmerkungSchließen Sie die QSFP-Kabel an der Lösung an. Dies erfordert zusätzliche Kraft.
Überprüfen Sie die Betriebsanzeige auf jedem Knoten, um sicherzustellen, dass sie von schnellem zum langsamem Blinken wechselt und so darauf hinweist, dass alle Knoten zum Einschalten bereit sind.










