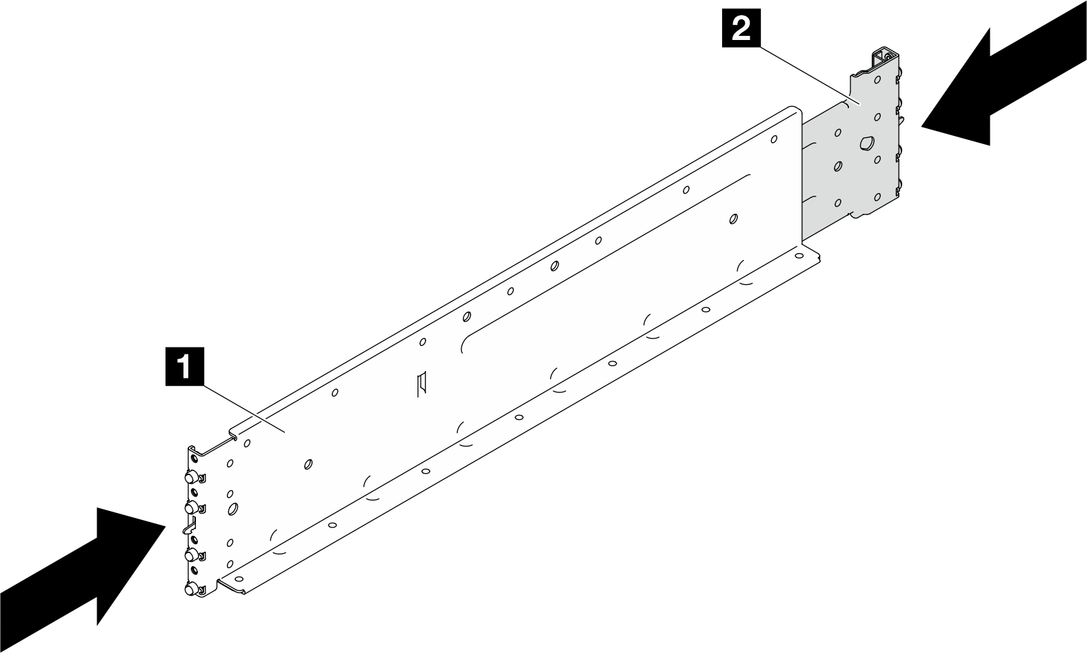
랙에 레일 설치
랙에 레일을 설치하려면 아래 지시사항을 따르십시오.
이 작업 정보
S002


경고
장치의 전원 제어 버튼과 전원 공급 장치의 전원 스위치는 장치에 공급되는 전류를 차단하지 않습니다. 또한 장치에는 둘 이상의 전원 코드가 있을 수 있습니다. 장치로 공급되는 전류를 제거하려면 모든 전원 코드가 전원에서 분리되어 있는지 확인하십시오.
절차 보기
- 이 절차의 비디오는 YouTube에서 볼 수 있습니다.
절차
완료한 후
랙에 엔클로저를 설치합니다. 랙에 엔클로저 설치의 내용을 참조하십시오.
엔클로저 중간 플레이트 어셈블리를 설치합니다. 중간 플레이트 어셈블리 설치의 내용을 참조하십시오.
상부 및 하부 매니폴드를 설치합니다. 매니폴드 설치의 내용을 참조하십시오.
모든 전력 변환 스테이션(PCS) 케이지를 설치합니다. 전력 변환 스테이션(PCS) 케이지 설치의 내용을 참조하십시오.
모든 전력 변환 스테이션(PCS)을 설치합니다. 전력 변환 스테이션(PCS) 설치의 내용을 참조하십시오.
SMM3를 설치합니다. SMM3 설치의 내용을 참조하십시오.
빈 필러를 설치합니다. 빈 필러 설치의 내용을 참조하십시오.
엔클로저 앞면에 모든 트레이를 설치하십시오. 엔클로저에 트레이 설치의 내용을 참조하십시오.
- 기타 필수 구성 요소를 모두 설치하십시오.
- 필요한 모든 케이블을 연결하십시오.
- 엔클로저를 전원에 연결하십시오.
- 솔루션 펌웨어를 최근 레벨로 업데이트하십시오.
- 다음과 같이 새 엔클로저의 엔클로저 레이블에 있는 일련 번호 및 시스템 유형을 SMM3로 업데이트하십시오.
SMM3 웹 인터페이스에 로그인합니다.
로 이동하여 일련 번호 및 시스템 유형을 업데이트합니다.
- 종료한 모든 노드를 다시 시작하십시오. 솔루션 전원 켜기의 내용을 참조하십시오.
- SMM3의 전원이 자동으로 켜집니다.
피드백 보내기



