Zum Hauptinhalt springen

Wasserkreislauf installieren

Mithilfe der Informationen in diesem Abschnitt können Sie den Wasserkreislauf im Einbaurahmen installieren.

Zu dieser Aufgabe

Erforderliche Werkzeuge
  • Schraubendreher für PH 1-, PH 2-, T10-, T20- und T30-Schrauben

  • Waterloop Service Kit (SC750 V4) (Die Wasserkreislaufhalterung im Service-Kit ist wiederverwendbar. Es wird empfohlen, sie in der Einrichtung aufzubewahren, in der der Server betrieben wird, um sie bei Bedarf ersetzen zu können.)

  • Up VR Gap Pad Kit (SC750 V4)

  • MID E3.S TOP Gap Pad (SC750 V4) , wenn das mittlere E3.S-Laufwerk installiert ist.

  • MID E3.S BOT Gap Pad (SC750 V4) , wenn das mittlere E3.S-Laufwerk installiert ist.

  • Storage Gap Pad Kit (SC750 V4) , wenn das vordere E3.S-Laufwerk installiert ist.

  • Storage Gap Pad Kit (SC750 V4) , wenn E3.S 1T-Doppellaufwerke an der Vorderseite oder E3.S 2T-Einzellaufwerke an der Vorderseite installiert sind.

  • CX7 NDR200 Gap Pad (SC750 V4) , wenn der ConnectX-7 NDR 200-Adapter installiert ist.

  • CX7 Gap Pad (SC750 V4) , wenn der ConnectX-7 NDR 400-Adapter installiert ist.

S038
Use eye protection
VORSICHT
Bei diesem Verfahren sollte ein Augenschutz getragen werden.
S040
use protective gloves
VORSICHT
Bei diesem Verfahren sollten Schutzhandschuhe getragen werden.
S042
Danger
GEFAHR
danger
Gefahr eines Stromschlags durch Wasser oder eine Wasserlösung, die in diesem Produkt enthalten ist. Vermeiden Sie Arbeiten an oder in der Nähe von unter Spannung stehenden Geräten mit nassen Händen oder bei verschüttetem Wasser.
Wichtig
Richtlinien für den Austausch von Gap-Pads
  • Informationen zu Position und Anleitung der Gap-Pads finden Sie unter Identifikation und Position von Gap-Pad.

  • Reinigen Sie die Oberfläche vor dem Austausch des Gap-Pads vorsichtig mit einem alkoholhaltigen Reinigungstuch.

  • Halten Sie das Gap-Pad vorsichtig fest, um eine Verformung zu vermeiden. Stellen Sie sicher, dass keine Schraubenlöcher oder Öffnungen durch das Material des Gap-Pads verdeckt werden.

Achtung
  • Lesen Sie Installationsrichtlinien und Sicherheitsprüfungscheckliste, um sicherzustellen, dass Sie sicher arbeiten.

  • Schalten Sie den entsprechenden DWC Einbaurahmen aus, auf dem Sie die Aufgabe ausführen werden.

  • Ziehen Sie alle externen Kabel vom Gehäuse ab.

  • Ziehen Sie die QSFP-Kabel von der Lösung ab. Dies erfordert zusätzliche Kraft.

  • Um die Beschädigung des Wasserkreislaufs zu vermeiden, verwenden Sie beim Entfernen, Installieren oder Falten des Wasserkreislaufs immer die Wasserkreislaufhalterung.

  • Falls Sie keinen Drehmomentschraubendreher besitzen, wird auf Anfrage einer zur Verfügung gestellt.

Sehen Sie sich das Verfahren an
  • Ein Video zu diesem Verfahren ist auf YouTube.

Vorgehensweise

Achtung
Vergewissern Sie sich, dass sich die Halteklammern an allen Speichermodul-Steckplätzen in der gesperrten Position befinden.

  1. Öffnen Sie den Karton und entfernen Sie die Schutzhüllen vom Wasserkreislauf.
    1. Entfernen Sie die Schaumstoffabdeckung vom Wasserkreislauf.
    2. Entfernen Sie die Kunststoffabdeckung vom Wasserkreislauf.
    Abbildung 1. Entfernen der Schutzabdeckungen vom Wasserkreislauf

  2. Lösen Sie die sechs T20-Schrauben vom Wasserkreislauf, während sich der Wasserkreislauf noch in der Verpackung befindet.
    Abbildung 2. Entfernen der sechs Schrauben vom Wasserkreislauf in der Verpackung

  3. Reinigen Sie die Wärmeleitpaste auf den Prozessoren und der Kühlplatte des Wasserkreislaufs.
    1. Reinigen Sie die alte Wärmeleitpaste auf den Prozessoren und die Kühlplatte des Prozessors am Wasserkreislauf vorsichtig mit einem alkoholhaltigen Reinigungstuch.
    2. Entfernen Sie das Prozessorkennzeichnungsetikett vom Wasserkreislauf und tauschen Sie es durch das neue Etikett aus, das mit dem Austauschprozessor geliefert wird. Wenn Sie nicht in der Lage sind, das Etikett zu entfernen und auf dem neuen Wasserkreislauf anzubringen, oder wenn das Etikett während der Übertragung beschädigt wird, schreiben Sie die Prozessorseriennummer vom Prozessorkennzeichnungsetikett an der Stelle auf den neuen Wasserkreislauf, an der das Etikett platziert werden sollte.
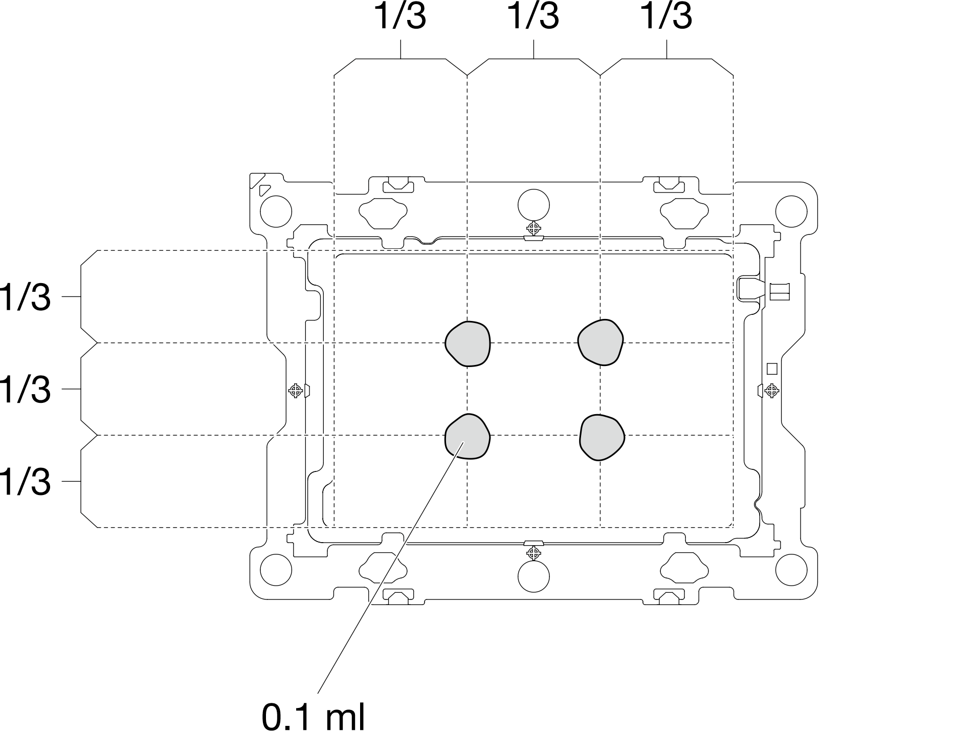
    3. Tragen Sie die Wärmeleitpaste mit der Spritze auf der Oberseite des Prozessors auf, indem Sie vier gleichmäßig verteilte Punkte bilden, von denen jeder aus ca. 0,1 ml Wärmeleitpaste besteht.
      Anmerkung
      Legen Sie den Prozessor und die Halterung vorsichtig auf einer ebenen Oberfläche ab, wobei die Seite mit den Prozessorkontakten nach unten weist.
      Abbildung 3. Auftragen der Wärmeleitpaste
      Applying thermal grease
  4. Installieren Sie bei Bedarf die Prozessorhalterungen am Prozessor.
    1. Richten Sie die dreieckige Markierung auf der Prozessorhalterung an der dreieckigen Markierung auf der Ecke des Prozessors aus.
    2. Setzen Sie die Prozessorhalterung vorsichtig auf den Prozessor. Drücken Sie dann vorsichtig auf die vier Seiten der Prozessorhalterung, um den Prozessor daran zu befestigen.
      Abbildung 4. Installation einer Prozessorhalterung
      Installing a processor retainer
  5. Installieren Sie den Prozessor am Wasserkreislauf, während sich dieser noch in der Verpackung befindet.
    1. Richten Sie die dreieckigen Markierungen an den Prozessorhalterungen mit den dreieckigen Öffnungen an der Unterseite der Kühlplatte des Wasserkreislaufs aus. Befestigen Sie dann die Prozessoren an der Unterseite der Kühlplatte des Wasserkreislaufs, indem Sie die Klammern und Stifte der Prozessorhalterungen in die Öffnungen an den vier Ecken der Kühlplatte einrasten.
      Abbildung 5. Installieren des Prozessors in den Wasserkreislauf

    2. Drehen Sie alle Kippschutzbügel (8 x Kippschutzbügel pro Knoten) nach innen in die entsperrte Position.
      Abbildung 6. Lösen der unverlierbaren Torx-T30-Schrauben

  6. Nehmen Sie den Wasserkreislauf aus der Verpackung. Stellen Sie sicher, dass Sie die grau markierten Berührungspunkte in der Abbildung unten halten.
    Achtung
    Wenn Sie den Wasserkreislauf an einer anderen Stelle als an den Berührungspunkten halten, kann er beschädigt werden.
    Abbildung 7. Berührungspunkte bei der Entnahme des Wasserkreislaufs aus der Verpackung
    Bild obenIsometrische Ansicht des Wasserkreislaufs
    Bild untenAnsicht von oben auf den Wasserkreislauf


    Achtung
    Halten Sie den Wasserkreislauf vor der Installation in den Einbaurahmen senkrecht. Wenn der Wasserkreislauf horizontal platziert wird und den Arbeitsbereich berührt, können die Gap-Pads beschädigt werden.
    Abbildung 8. Handhabung des Wasserkreislaufs vor der Installation im Einbaurahmen

  7. Überprüfen Sie die Gap-Pads am Wasserkreislauf und ersetzen Sie sie durch neue, falls sie beschädigt oder gelöst sind.
    Abbildung 9. Positionen der Gap-Pads am Wasserkreislauf

Befolgen Sie unbedingt die Richtlinien für den Austausch von Gap-Pads.

  1. Überprüfen Sie die Gap-Pads auf der VR-Kühlplatte, die auf der Prozessorplatine installiert ist. Wenn eines davon beschädigt oder gelöst ist, ersetzen Sie es durch ein neues.
    Abbildung 10. Positionen der Gap-Pads der VR-Kühlplatte

Befolgen Sie unbedingt die Richtlinien für den Austausch von Gap-Pads.

  1. Installieren Sie den Wasserkreislauf am Knoten auf der rechten Seite (von der Vorderseite des Einbaurahmens aus gesehen).
    1. Halten Sie den Wasserkreislauf vorsichtig mit beiden Händen und drehen Sie ihn um.
    2. Positionieren Sie den Wasserkreislauf vorsichtig auf den drei Führungsstiften des rechten Knotens (von der Vorderseite des Einbaurahmens aus gesehen). Senken Sie dann den Wasserkreislauf vorsichtig ab und stellen Sie sicher, dass er fest auf der Systemplatine sitzt.
      Abbildung 11. Installieren des Wasserkreislaufs am rechten Knoten

  2. Stellen Sie sicher, dass der Führungsstift in der Nähe des Schnellanschlusssteckplatzes ordnungsgemäß installiert ist. Bei ordnungsgemäßer Installation sollte der Führungsstift durch die Führungsbohrung eingeführt werden und sichtbar sein. Bei falscher Installation ist der Führungsstift nicht zu sehen und der Wasserkreislauf schwebt leicht über dem Einbaurahmen.
    Abbildung 12. Überprüfen des Installationsergebnisses des Führungsstifts

    1. Wenn der Führungsstift nicht ordnungsgemäß installiert wurde, drücken Sie den Wasserkreislauf nach unten.
    2. Der Führungsstift muss in das Führungsloch eingeführt werden.
    Abbildung 13. Fixierung eines falsch installierten Führungsstifts

  3. Lösen Sie die beiden Rändelschrauben an jedem Ende der Wasserkreislaufhalterung vollständig.
    Abbildung 14. Lösen der Rändelschrauben

  4. Entfernen Sie die sechs T20-Schrauben vom Wasserkreislauf.
    Abbildung 15. Entfernen der sechs Schrauben vom Wasserkreislauf

  5. Wiederholen Sie die Schritte 4 bis 5, um die Prozessoren auf der anderen Seite des Wasserkreislaufs zu installieren.
  6. Überprüfen Sie die Gap-Pads am Wasserkreislauf und ersetzen Sie sie durch neue, falls sie beschädigt oder gelöst sind.
    Abbildung 16. Positionen der Gap-Pads am Wasserkreislauf

Befolgen Sie unbedingt die Richtlinien für den Austausch von Gap-Pads.

  1. Überprüfen Sie die Gap-Pads auf der VR-Kühlplatte, die auf der Prozessorplatine installiert ist. Wenn eines davon beschädigt oder gelöst ist, ersetzen Sie es durch ein neues.
    Abbildung 17. Positionen der Gap-Pads der VR-Kühlplatte

Befolgen Sie unbedingt die Richtlinien für den Austausch von Gap-Pads.

  1. Klappen Sie die andere Seite des Wasserkreislaufs auf und befestigen Sie ihn wie dargestellt.
    Abbildung 18. Aufklappen des Wasserkreislaufs

  2. Entfernen Sie die Trägerplatte vom Wasserkreislauf.
    Abbildung 19. Entfernen der Trägerplatte vom Wasserkreislauf

  3. Stellen Sie sicher, dass der Führungsstift in der Nähe des Schnellanschlusssteckplatzes ordnungsgemäß installiert ist. Bei ordnungsgemäßer Installation sollte der Führungsstift durch die Führungsbohrung eingeführt werden und sichtbar sein. Bei falscher Installation ist der Führungsstift nicht zu sehen und der Wasserkreislauf schwebt leicht über dem Einbaurahmen.
    Abbildung 20. Überprüfen des Installationsergebnisses des Führungsstifts

    1. Wenn der Führungsstift nicht ordnungsgemäß installiert wurde, drücken Sie den Wasserkreislauf nach unten.
    2. Der Führungsstift muss in das Führungsloch eingeführt werden.
    Abbildung 21. Fixierung eines falsch installierten Führungsstifts

  4. Setzen Sie eine Schraube durch das Schraubenloch an der Transporthalterung ein, um die Mischkammer am Einbaurahmen zu fixieren.
    1. Machen Sie das Schraubenloch an der Transporthalterung auf dem rechten Knoten ausfindig (von der Vorderseite des Einbaurahmens aus gesehen).
      Abbildung 22. Position des Schraubenlochs für die Mischkammer an der Transporthalterung

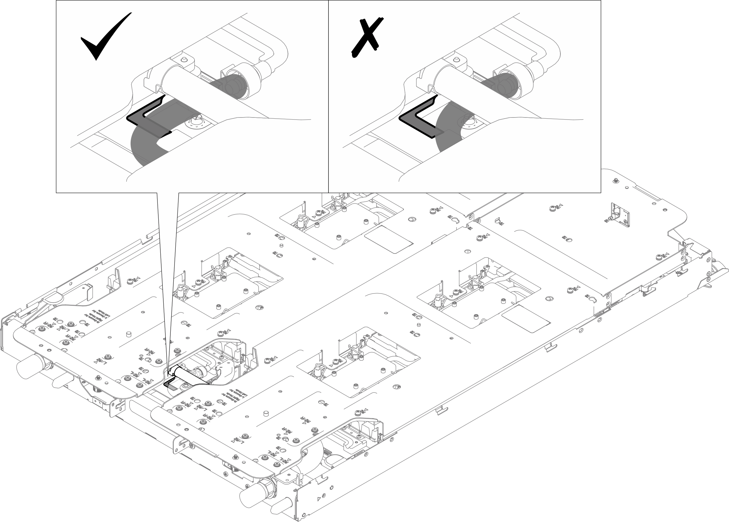
    2. Untersuchen Sie den Raum unter dem Schraubenloch, wo zwei Wasserschläuche geschichtet sind. Am oberen Rohr befindet sich eine Metallhalteklammer. Das untere Rohr darf die Metallhalteklammer nicht berühren. Justieren Sie das untere Rohr, bis es die Metallklammer nicht mehr berührt.
      Abbildung 23. Unteres Rohr so justieren, dass es die Metallklammer nicht mehr berührt

      Anmerkung
      Auf der PDB-Kühlplatte befindet sich ein L-förmiger schräger Bereich, der mehr Platz für das untere Rohr bietet. Der L-förmige schräge Bereich ist in der folgenden Abbildung dargestellt. Achten Sie darauf, dass das untere Rohr innerhalb des schrägen Bereichs bleibt.
      Abbildung 24. Unteres Rohr innerhalb der Schräge auf der PDB-Kühlplatte halten

    3. Halten Sie das untere Rohr von der Metallklammer des oberen Rohrs fern und installieren Sie gleichzeitig die Schraube durch das Schraubenloch an der Transporthalterung, um die Mischkammer am Einbaurahmen zu befestigen.
      Anmerkung

      Als Referenz: Das erforderliche Drehmoment für das vollständige Anziehen/Lösen der Schrauben beträgt 0,55 +/- 0,05 N-M bzw. 5,0 +/- 0,5 lbf-in.

      Abbildung 25. Installieren der Schraube zur Befestigung der Mischkammer

  5. Drehen Sie die Kippschutzbügel (16 x Kippschutzbügel für zwei Knoten) nach außen in die gesperrte Position.
    Abbildung 26. Entriegeln der Kippschutzbügel

  6. Lösen Sie die Schrauben der Wasserkreislaufhalterung (28 x PH2-Kreuzschlitzschrauben für zwei Knoten).
    Anmerkung

    Als Referenz: Das erforderliche Drehmoment für das vollständige Anziehen/Lösen der Schrauben beträgt 0,55 +/- 0,05 N-M bzw. 5,0 +/- 0,5 lbf-in.

    Abbildung 27. Lösen der Schrauben der Wasserkreislaufhalterung

  7. Heben Sie vorsichtig jede Wasserkreislaufhalterung einzeln nach oben und weg vom Wasserkreislauf.
    Abbildung 28. Wasserkreislaufhalterung entfernen

  8. Entfernen Sie die Schaumstoffschutzverpackung vom Wasserkreislauf.
    Abbildung 29. Entfernen der Schaumstoffverpackungen

  9. Ziehen Sie alle unverlierbaren Torx-T30-Schrauben (16 unverlierbare Torx-T30-Schrauben für zwei Knoten) gemäß der auf der Transporthalterung angegebenen Schraubenreihenfolge mit einem Drehmomentschraubendreher, der auf das richtige Drehmoment eingestellt ist.
    Anmerkung
    • Als Referenz: Das erforderliche Drehmoment für das vollständige Anziehen/Lösen der Schrauben beträgt 0,9 +/- 0,05 N-m bzw. 8 +/- 0,5 lbf-in.

    • Um Beschädigungen an den Komponenten zu verhindern, stellen Sie sicher, dass Sie die angegebene Reihenfolge zum Anziehen/Lösen einhalten.

    Abbildung 30. Reihenfolge des Anziehens/Lösens der Schrauben auf dem Etikett der Transporthalterung

    Abbildung 31. Anziehen der unverlierbaren Torx-T30-Schrauben

  10. Installieren Sie die Schrauben des Wasserkreislaufs (18 x T10-Torx-Schrauben pro Knoten) mit einem Drehmomentschraubendreher und dem richtigen Drehmoment.
    Anmerkung

    Als Referenz: Das erforderliche Drehmoment für das vollständige Anziehen/Lösen der Schrauben beträgt 0,55 +/- 0,05 N-M bzw. 5,0 +/- 0,5 lbf-in.

    Abbildung 32. Anbringen der Schrauben des Wasserkreislaufs

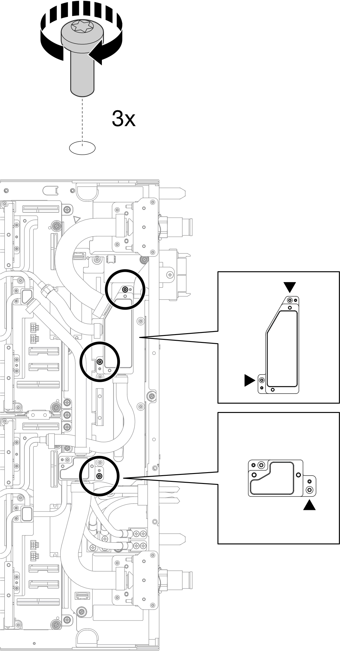
  11. Bringen Sie die drei Torx-T10-Schrauben an, um die Mischkammern an der Kühlplatte der Stromversorgungsplatine zu befestigen. Verwenden Sie dazu einen Drehmomentschraubendreher, der auf das richtige Drehmoment eingestellt ist.
    Anmerkung

    Als Referenz: Das erforderliche Drehmoment für das vollständige Anziehen/Lösen der Schrauben beträgt 0,55 +/- 0,05 N-M bzw. 5,0 +/- 0,5 lbf-in.

    Abbildung 33. Installation der Mischkammerschrauben

  12. Befolgen Sie die Reihenfolge zum Einsetzen der Schrauben in der Abbildung und installieren Sie acht (8x) T10-Torx-Schrauben, um die beiden Schnellanschlüsse am Einbaurahmen zu befestigen (vier Schrauben für jeden Schnellanschluss).
    Anmerkung

    Als Referenz: Das erforderliche Drehmoment für das vollständige Anziehen/Lösen der Schrauben beträgt 0,55 +/- 0,05 N-M bzw. 5,0 +/- 0,5 lbf-in.

    Abbildung 34. Installation der Schrauben am Schnellanschluss

  13. Entfernen Sie die Abdeckungen von den Schnellanschlüssen.
    Abbildung 35. Entfernen der Schnellanschlussabdeckungen

  14. Bringen Sie zwei T10-Schrauben an, um die VR-Abdeckung am Wasserkreislauf zu befestigen. Stellen Sie sicher, dass Sie zwei VR-Abdeckungen am Wasserkreislauf anbringen (eine VR-Abdeckung pro Knoten).
    Abbildung 36. Anbringen der VR-Abdeckungen

  15. Überprüfen Sie das Gap-Pad auf der Oberseite der mittleren E3.S-Kühlplatte. Wenn es beschädigt ist oder sich gelöst hat, ersetzen Sie es durch ein neues.
    Abbildung 37. Position des Gap-Pads auf der Oberseite der mittleren E3.S-Kühlplatte

Befolgen Sie unbedingt die Richtlinien für den Austausch von Gap-Pads.

  1. Ersetzen Sie das Einweg-Gap-Pad auf der Unterseite der mittleren E3.S-Kühlplatte durch ein neues.
    Abbildung 38. Position des Einweg-Gap-Pads auf der Unterseite der mittleren E3.S-Kühlplatte

Befolgen Sie unbedingt die Richtlinien für den Austausch von Gap-Pads.

  1. Bringen Sie vier PH1-Schrauben an, um die Kühlplatten des mittleren Laufwerks am Wasserkreislauf zu befestigen. Achten Sie darauf, dass die TOP-Markierung zur Rückseite des Einbaurahmens zeigt.
    Anmerkung
    • Als Referenz: Das erforderliche Drehmoment für das vollständige Anziehen/Lösen der Schrauben beträgt 0,55 +/- 0,05 N-M bzw. 5,0 +/- 0,5 lbf-in.

    • Achten Sie darauf, alle vier Kühlplatten des mittleren Laufwerks im Wasserkreislauf zu installieren (zwei Kühlplatten pro Knoten).

    Abbildung 39. Installieren der Kühlplatte des mittleren Laufwerks

Nach dieser Aufgabe
  1. Installieren Sie den Flüssigkeitserkennungssensor. Siehe Flüssigkeitserkennungssensor installieren.

  2. Installieren Sie den Seitenbandkabelsatz. Siehe Seitenbandkabelsatz für das Systemmanagement installieren.

  3. Installieren Sie die mittlere E3.S-Laufwerkhalterung. Siehe Mittlere E3.S 1T-Laufwerkhalterungsbaugruppe installieren.

  4. Installieren Sie den Adapterrahmen für den PCIe-Adapter. Siehe ConnectX-7 NDR 200-Adapterkartenbaugruppe installieren oder ConnectX-7 NDR 400-Adapterkartenbaugruppe installieren.
  5. Installieren Sie die vordere E3.S-Laufwerkhalterung. Siehe Vordere E3.S-Laufwerkhalterungsbaugruppe installieren.

  6. Wenn das System mit Speichermodulen installiert wird, die eine beidseitige Kühlung erfordern, installieren Sie DIMM-Kühlleisten. (siehe DIMM-Kühlleiste installieren).

  7. Installieren Sie die Querstreben. Siehe Querstreben installieren.

  8. Installieren Sie das Speichermodul und führen Sie einen der folgenden Schritte aus.

  9. Installieren Sie den DIMM-Kamm. Siehe DIMM-Kamm installieren.

  10. Installieren Sie die Abdeckung des Einbaurahmens. Siehe Abdeckung des Einbaurahmens installieren.

  11. Installieren Sie den Einbaurahmen im Gehäuse. Siehe Einbaurahmen im Gehäuse installieren.

  12. Schließen Sie alle erforderlichen externen Kabel an der Lösung an.
    Anmerkung
    Schließen Sie die QSFP-Kabel an der Lösung an. Dies erfordert zusätzliche Kraft.
  13. Überprüfen Sie die Betriebsanzeige auf jedem Knoten, um sicherzustellen, dass sie von schnellem zum langsamem Blinken wechselt und so darauf hinweist, dass alle Knoten zum Einschalten bereit sind.
    Anmerkung

    Für die gemeinsam genutzte E/A-Konfiguration ist eine bestimmte Einschaltreihenfolge der Knoten erforderlich. Beim Einschalten des Systems schalten Sie zuerst Knoten B und dann Knoten A ein. Weitere Informationen finden Sie unter Kabelführung für den PCIe-Adapter.