Aller au contenu principal

Installation de la boucle d'eau

Les informations ci-après vous permettent d’installer la boucle d’eau sur le plateau.

À propos de cette tâche

Outils requis
  • Tournevis pour vis PH 1, PH 2, T10, T20 et T30

  • Waterloop Service Kit (SC750 V4) (Le support de la boucle d’eau contenu dans le kit de maintenance est réutilisable. Nous vous recommandons de le conserver au même endroit où le serveur est installé en vue de futurs remplacements.)

  • Up VR Gap Pad Kit (SC750 V4)

  • MID E3.S TOP Gap Pad (SC750 V4) , si une unité E3.S médiane est installée.

  • MID E3.S BOT Gap Pad (SC750 V4) , si une unité E3.S médiane est installée.

  • Storage Gap Pad Kit (SC750 V4) , si une unité E3.S avant est installée.

  • Storage Gap Pad Kit (SC750 V4) , si des unités E3.S 1T doubles avant ou une unité E3.S 2T simple avant sont installées/est installée.

  • CX7 NDR200 Gap Pad (SC750 V4) , si un adaptateur ConnectX-7 NDR 200 est installé.

  • CX7 Gap Pad (SC750 V4) , si un adaptateur ConnectX-7 NDR 400 est installé.

S038
Use eye protection
ATTENTION
Une protection oculaire est requise pour cette procédure.
S040
use protective gloves
ATTENTION
Des gants de protection sont requis pour cette procédure.
S042
Danger
DANGER
danger
Risque de choc électrique dû à l’eau ou une solution aqueuse présente dans ce produit. Évitez de travailler sur du matériel sous tension ou près d’un équipement sous tension avec des mains humides ou en cas de présence d’eau contaminée.
Important
Consignes de remplacement du tampon d’espace
  • Pour connaître l’emplacement du tampon d’espace et les consignes associées, voir Identification et emplacement du tampon d’espace.

  • Avant de remplacer le tampon d’espace, nettoyez délicatement la surface à l’aide d’un chiffon doux imbibé d’alcool.

  • Maintenez le tampon d’espace en faisant preuve de précautions afin de ne pas le déformer. Assurez-vous qu’aucun trou de vis ou orifice n’est obstrué par le tampon d’espace.

Avertissement
  • Lisez Conseils d’installation et Liste de contrôle d’inspection de sécurité pour vous assurer que vous travaillez en toute sécurité.

  • Mettez hors tension le plateau DWC correspondant sur lequel vous allez exécuter la tâche.

  • Débranchez tous les câbles externes du boîtier.

  • Exercez une force supplémentaire pour déconnecter les câbles QSFP éventuellement connectés à la solution.

  • Pour éviter d'endommager la boucle d'eau, utilisez toujours le support de boucle d'eau lorsque vous retirez, installez ou pliez la boucle d'eau.

  • Un tournevis dynamométrique est disponible sur demande si vous n’en avez pas à portée de main.

Visionnage de la procédure
  • Une vidéo de cette procédure est disponible sur YouTube.

Procédure

Avertissement
Vérifiez que les pattes de retenue de tous les connecteurs de module de mémoire sont en position verrouillée.

  1. Ouvrez la boîte d’emballage et retirez les housses de protection de la boucle d’eau.
    1. Retirez la housse en mousse de la boucle d’eau.
    2. Retirez le couvercle en plastique de la boucle d’eau.
    Figure 1. Retrait des housses de protection de la boucle d’eau

  2. Desserrez les six vis T20 de la boucle d’eau alors que celle-ci est encore dans la boîte d’emballage.
    Figure 2. Retrait des six vis de la boucle d’eau dans la boîte d’emballage

  3. Nettoyez la pâte thermoconductrice sur les processeurs et la plaque froide du processeur de la boucle d’eau.
    1. Nettoyez délicatement l’ancienne pâte thermoconductrice des processeurs et de la plaque froide du processeur de la boucle d’eau à l’aide d’un chiffon doux imbibé d’alcool.
    2. Retirez l'étiquette d'identification de processeur de la boucle d'eau et remplacez-la par la nouvelle étiquette fournie avec le processeur de remplacement. Si vous ne parvenez pas à retirer l'étiquette et à la placer sur la nouvelle boucle d'eau, ou si l'étiquette est endommagée lors du transfert, écrivez le numéro de série figurant sur l'étiquette d'identification du processeur sur la nouvelle boucle d'eau, à l'emplacement où devrait se trouver l'étiquette, à l'aide d'un marqueur indélébile.
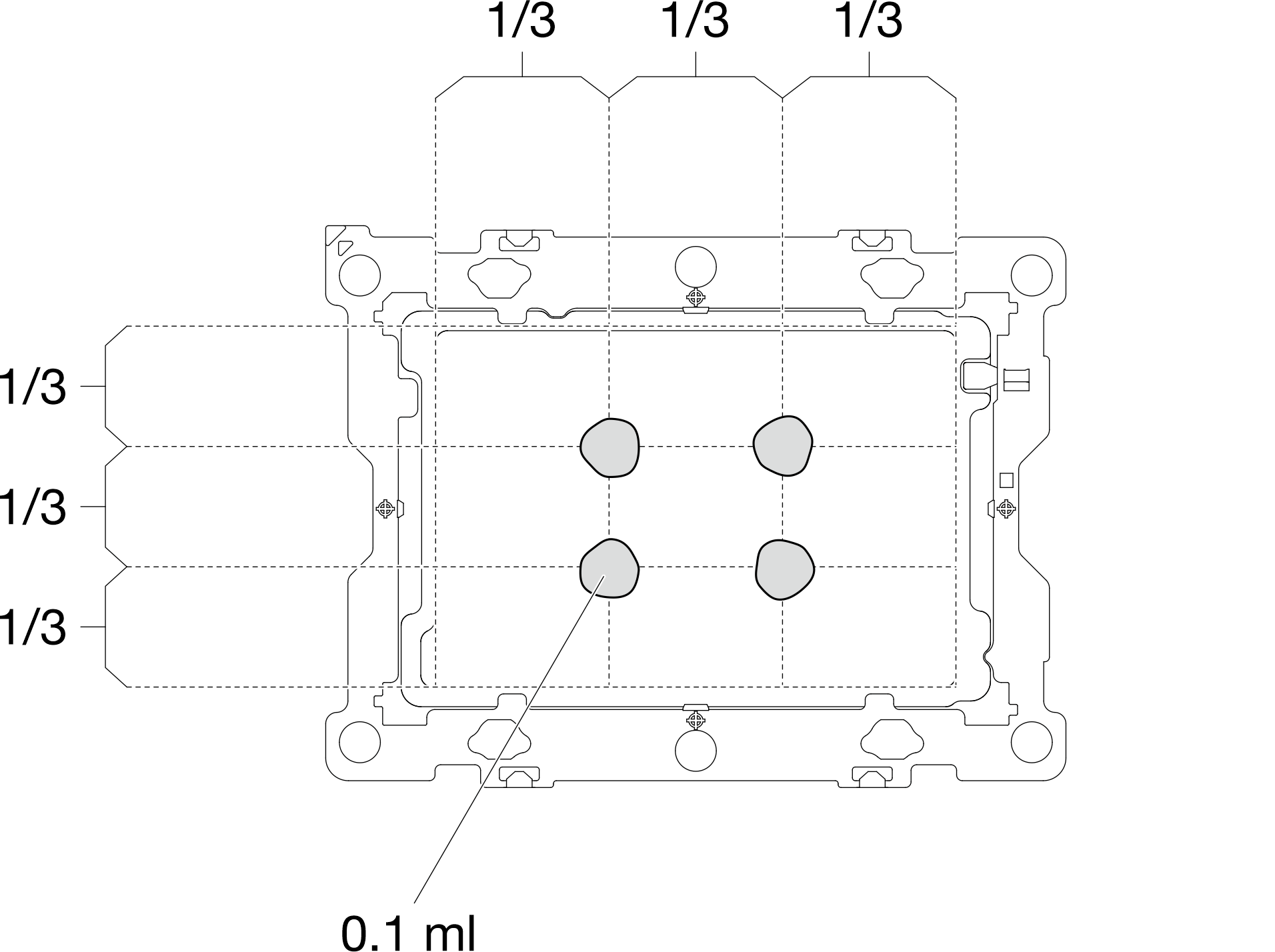
    3. Appliquez la pâte thermoconductrice sur le dessus du processeur avec une seringue en formant quatre points régulièrement espacés, chaque point composé de 0,1 ml de pâte thermoconductrice
      Remarque
      Placez avec précaution le processeur et le dispositif de retenue sur une surface plane avec la partie contact du processeur vers le bas.
      Figure 3. Application de la pâte thermoconductrice
      Applying thermal grease
  4. Installez les dispositifs de retenue de processeur sur le processeur si nécessaire.
    1. Alignez la marque triangulaire sur l’étiquette du dispositif de retenue du processeur avec celle qui se trouve au bord du coin du processeur.
    2. Placez délicatement le dispositif de retenue du processeur sur le processeur ; appuyez ensuite avec précaution sur les quatre côtés du dispositif de retenue du processeur pour bien fixer le processeur.
      Figure 4. Installation d’un dispositif de retenue du processeur
      Installing a processor retainer
  5. Installez le processeur sur la boucle d’eau alors que celle-ci se trouve encore dans sa boîte d’emballage.
    1. Alignez les marques triangulaires sur les dispositifs de retenue du processeur avec les encoche triangulaires au-dessous de la plaque froide de la boucle d’eau ; connectez ensuite les processeurs à la partie inférieure de la plaque froide de la boucle d’eau en insérant les broches du dispositif de retenue du processeur dans les ouvertures situées aux quatre coins de la plaque froide.
      Figure 5. Installation du processeur sur la boucle d’eau

    2. Faites pivoter tous les crochets de câble anti-inclinaison (8 crochets de câble anti-inclinaison par nœud) vers l’extérieur en position déverrouillée.
      Figure 6. Déverrouillage des vis imperdables Torx T30

  6. Retirez la boucle d’eau de la boîte d’emballage. Assurez-vous de bien saisir les points de contact indiqués en gris dans l’illustration ci-dessous.
    Avertissement
    Si vous saisissez la boucle d’eau au niveau d’autres emplacements, vous risquez de l’endommager.
    Figure 7. Points de contact lors du déballage de la boucle d’eau
    Image supérieureVue isométrique de la boucle d’eau
    Image inférieureVue supérieure de la boucle d’eau


    Avertissement
    Avant d’installer la boucle d’eau sur le plateau, maintenez-la à la verticale. Si vous placez la boucle d’eau à l’horizontale et qu’elle touche la surface de travail, il est possible que cela endommage les tampons d’espace.
    Figure 8. Manipulation de la boucle d’eau avant de l’installer dans le plateau

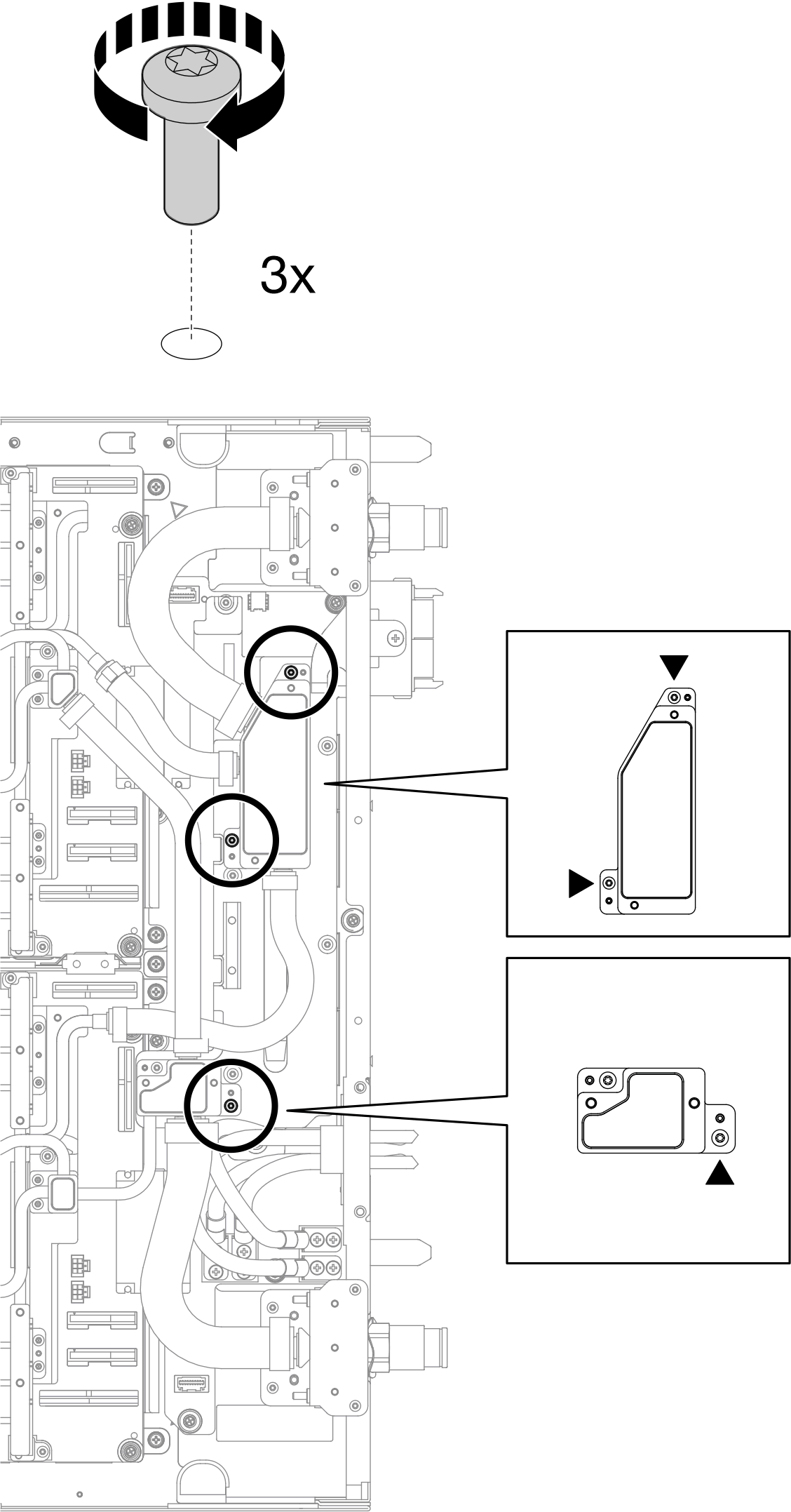
  7. Inspectez les tampons d’espace de la boucle d’eau, si l’un d’eux est endommagé ou détaché, remplacez-le par un tampon neuf.
    Figure 9. Emplacements des tampons d’espace de la boucle d’eau

Assurez-vous de bien suivre les Consignes de remplacement du tampon d’espace.

  1. Inspectez les tampons d’espace sur la plaque froide VR installée sur la carte du processeur ; s’ils sont endommagés ou détachés, remplacez-les par des tampons neufs.
    Figure 10. Emplacements des tampons d’espace de la plaque froide VR

Assurez-vous de bien suivre les Consignes de remplacement du tampon d’espace.

  1. Installation de la boucle d'eau sur le nœud de droite (depuis l’avant du plateau).
    1. Tenez délicatement la boucle d’eau avec vos deux mains et retournez-la.
    2. Positionnez soigneusement la boucle d’eau sur les trois broches de guidage du nœud côté droit (depuis l’avant du plateau). Ensuite, abaissez délicatement la boucle d’eau et assurez-vous qu’elle est bien en place sur la carte mère.
      Figure 11. Installation d’une boucle d’eau sur le nœud de droite

  2. Assurez-vous que la broche de guidage près de l’emplacement de connexion rapide est correctement installée. Lorsqu’elle est correctement installée, la broche de guidage doit être insérée dans le trou de guidage et être visible. Lorsqu’elle n’est pas installée correctement, la broche de guidage n’est pas visible et la boucle d’eau flotte légèrement au-dessus du plateau.
    Figure 12. Vérification du résultat de l’installation de la broche de guidage

    1. Si la broche de guidage n’est pas correctement installée, appuyez sur la boucle d’eau.
    2. La broche de guidage doit être insérée dans le trou de guidage.
    Figure 13. Correction de la broche de guidage mal installée

  3. Desserrez complètement les deux vis moletées imperdables situées à chaque extrémité du support de la boucle d’eau.
    Figure 14. Desserrement des vis moletées imperdables

  4. Retirez les six vis T20 de la boucle d’eau.
    Figure 15. Retrait des six vis de la boucle d’eau

  5. Répétez les étapes 4 à 5 pour installer les processeurs de l’autre côté de la boucle d’eau.
  6. Inspectez les tampons d’espace de la boucle d’eau, si l’un d’eux est endommagé ou détaché, remplacez-le par un tampon neuf.
    Figure 16. Emplacements des tampons d’espace de la boucle d’eau

Assurez-vous de bien suivre les Consignes de remplacement du tampon d’espace.

  1. Inspectez les tampons d’espace sur la plaque froide VR installée sur la carte du processeur ; s’ils sont endommagés ou détachés, remplacez-les par des tampons neufs.
    Figure 17. Emplacements des tampons d’espace de la plaque froide VR

Assurez-vous de bien suivre les Consignes de remplacement du tampon d’espace.

  1. Dépliez et installez l’autre côté de la boucle d’eau, comme indiqué.
    Figure 18. Dépliage de la boucle d’eau

  2. Retirez la plaque de support de la boucle d’eau.
    Figure 19. Retrait de la plaque de support de la boucle d’eau

  3. Assurez-vous que la broche de guidage près de l’emplacement de connexion rapide est correctement installée. Lorsqu’elle est correctement installée, la broche de guidage doit être insérée dans le trou de guidage et être visible. Lorsqu’elle n’est pas installée correctement, la broche de guidage n’est pas visible et la boucle d’eau flotte légèrement au-dessus du plateau.
    Figure 20. Vérification du résultat de l’installation de la broche de guidage

    1. Si la broche de guidage n’est pas correctement installée, appuyez sur la boucle d’eau.
    2. La broche de guidage doit être insérée dans le trou de guidage.
    Figure 21. Correction de la broche de guidage mal installée

  4. Installez la vis pour fixer la chambre de mélange au plateau à travers le trou de vis du support de transport.
    1. Repérez le trou de vis sur le support de transport sur le nœud côté droit (vu depuis l'avant du plateau).
      Figure 22. Emplacement du trou de vis de la chambre de mélange sur le support de transport

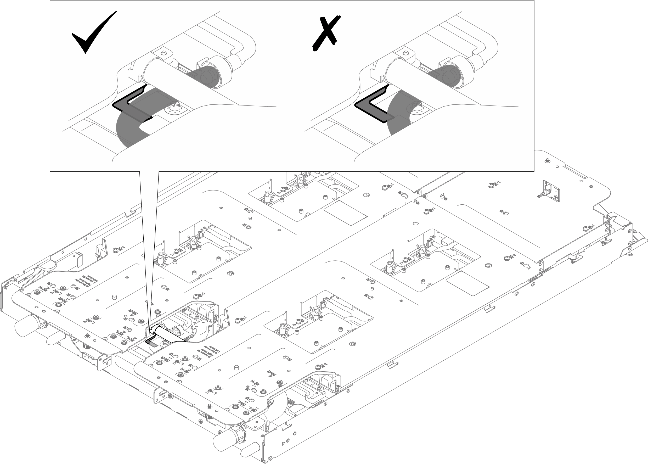
    2. Inspectez l’espace sous le trou de vis, où deux tubes d’eau sont superposés. Il y a un clip métallique sur le tube supérieur ; le tube inférieur ne doit pas entrer en contact avec le clip métallique. Ajustez le tube inférieur jusqu’à ce qu’il soit dégagé du clip métallique.
      Figure 23. Ajustez le tube inférieur pour qu’il soit dégagé du clip métallique

      Remarque
      Il y a une section inclinée en forme de L sur la plaque froide PDB qui laisse plus d’espace pour le tube inférieur. La section inclinée en forme de L est spécifiée dans l’illustration ci-dessous. Assurez-vous de garder le tube inférieur à l’intérieur de la section inclinée.
      Figure 24. Maintien du tube inférieur dans l’inclinaison de la plaque froide PDB

    3. Veillez à ce que le tube inférieur ne touche pas le clip métallique du tube supérieur, puis installez en même temps la vis dans le trou prévu à cet effet sur le support d'expédition afin de fixer la chambre de mélange au plateau.
      Remarque

      À titre de référence, le couple requis pour desserrer ou serrer complètement les vis est de 5,0+/- 0,5 pouces-livres, 0,55+/- 0,05 newtons-mètres.

      Figure 25. Installation de la vis pour fixer la chambre de mélange

  5. Faites pivoter les crochets de câble anti-inclinaison (16 crochets de câble anti-inclinaison pour les deux nœuds) vers l’extérieur en position verrouillée.
    Figure 26. Déverrouillage des crochets du câble anti-inclinaison

  6. Desserrez les vis du support de la boucle d’eau (28 vis cruciformes n°2 pour les deux nœuds).
    Remarque

    À titre de référence, le couple requis pour desserrer ou serrer complètement les vis est de 5,0+/- 0,5 pouces-livres, 0,55+/- 0,05 newtons-mètres.

    Figure 27. Desserrage des vis du support de la boucle d’eau

  7. Soulevez avec précaution chaque support de la boucle d'eau pour l'extraire de cette dernière, un à la fois.
    Figure 28. Retrait du support de la boucle d'eau

  8. Retirez l’emballage de protection en mousse de la boucle d’eau.
    Figure 29. Retrait de l’emballage en mousse

  9. Serrez complètement toutes les vis imperdables Torx T30 (16 vis imperdables Torx T30 pour deux nœuds) en respectant les informations indiquées sur l’étiquette de séquence des vis sur le support de transport, à l’aide d’un tournevis dynamométrique défini sur le couple approprié.
    Remarque
    • À titre de référence, le couple requis pour desserrer ou serrer complètement les vis est de 8 +/- 0,5 pouces-livres, 0,9+/- 0,05 N-m.

    • Pour éviter d’endommager les composants, veillez à suivre la séquence de serrage/desserrage indiquée.

    Figure 30. Séquence de serrage/desserrage des vis sur l’étiquette du support d’expédition

    Figure 31. Serrage des vis imperdables Torx T30

  10. Installez les vis de la boucle d’eau (18 vis Torx T10 par nœud) à l’aide d’un tournevis dynamométrique réglé au couple approprié.
    Remarque

    À titre de référence, le couple requis pour desserrer ou serrer complètement les vis est de 5,0+/- 0,5 pouces-livres, 0,55+/- 0,05 newtons-mètres.

    Figure 32. Installation des vis de la boucle d’eau

  11. Installez trois vis Torx T10 pour fixer les chambres de mélange à la plaque froide du tableau de distribution à l’aide d’un tournevis dynamométrique réglé au couple approprié.
    Remarque

    À titre de référence, le couple requis pour desserrer ou serrer complètement les vis est de 5,0+/- 0,5 pouces-livres, 0,55+/- 0,05 newtons-mètres.

    Figure 33. Installation des vis des chambres de mélange

  12. Suivez la séquence d’installation des vis indiquée dans l’illustration et installez huit (8x) vis Torx T10 pour fixer les deux raccords rapides au plateau (quatre vis pour chaque raccord rapide).
    Remarque

    À titre de référence, le couple requis pour desserrer ou serrer complètement les vis est de 5,0+/- 0,5 pouces-livres, 0,55+/- 0,05 newtons-mètres.

    Figure 34. Installation des vis du raccord rapide

  13. Retirez les caches des raccords rapides.
    Figure 35. Retrait des caches de raccord rapide

  14. Installez deux vis T10 pour installer le cache VR sur la boucle d’eau. Veillez à installer deux caches VR sur la boucle d’eau (un cache VR par nœud).
    Figure 36. Installation des caches VR

  15. Inspectez le tampon d’espace sur le côté supérieur de la plaque froide médiane E3.S. S’il est endommagé ou détaché, remplacez-le par un nouveau.
    Figure 37. Emplacement du tampon d’espace supérieur de la plaque froide médiane E3.S

Assurez-vous de bien suivre les Consignes de remplacement du tampon d’espace.

  1. Remplacez le tampon d’espace à usage unique sur la partie inférieure de la plaque froide médiane E3.S par un nouveau.
    Figure 38. Emplacement du tampon d’espace à usage unique inférieur de la plaque froide médiane E3.S

Assurez-vous de bien suivre les Consignes de remplacement du tampon d’espace.

  1. Installez quatre vis PH1 pour installer les plaques froides d’unité centrale sur la boucle d’eau. Veillez à ce que le marquage « TOP » soit orienté vers l’arrière du plateau.
    Remarque
    • À titre de référence, le couple requis pour desserrer ou serrer complètement les vis est de 5,0+/- 0,5 pouces-livres, 0,55+/- 0,05 newtons-mètres.

    • Veillez à installer les quatre plaques froides d’unité centrale sur la boucle d’eau (deux plaques froides par nœud).

    Figure 39. Installation de la plaque froide d’unité centrale

Après avoir terminé
  1. Installez le détecteur de fuite. Voir Installation du détecteur de fuite.

  2. Installez le kit de câble latéral. Voir Installation du kit de câbles latéraux de gestion du système.

  3. Installez le boîtier d’unités de disque dur E3.s central. Voir Installation d’un assemblage de boîtier d’unités de disque dur central E3.S 1T.

  4. Installez le boîtier de carte mezzanine de l’adaptateur PCIe. Voir Installation d’un assemblage de cartes mezzanines d’adaptateur ConnectX-7 NDR 200 ou Installation d’un assemblage de cartes mezzanines d’adaptateur ConnectX-7 NDR 400.
  5. Installez le boîtier d’unités de disque dur E3.s avant. Voir Installation d’un assemblage de boîtier d’unités de disque dur avant E3.S.

  6. Si des modules de mémoire nécessitant un refroidissement de deux côtés doivent être installés dans le système, installez les barres de refroidissement DIMM. Pour plus d'informations, voir Installation d’une barre de refroidissement DIMM.

  7. Installez les traverses. Voir Installation des traverses.

  8. Installez le module de mémoire et effectuez l’une des opérations suivantes.

  9. Installez l’ensemble DIMM. Voir Installation d’un ensemble DIMM.

  10. Installez le cache du plateau. Voir Installation d'un cache de plateau.

  11. Installez le plateau dans le boîtier. Voir Installation d’un plateau dans le boîtier.

  12. Branchez tous les câbles externes requis sur la solution.
    Remarque
    Exercez une force supplémentaire pour connecter les câbles QSFP à la solution.
  13. Vérifiez le voyant d’alimentation de chaque nœud afin de vous assurer qu’il passe d’un clignotement rapide à un clignotement lent pour indiquer que tous les nœuds sont sous tension.
    Remarque

    La configuration d’E-S partagées nécessite une séquence spécifique de mise sous tension des nœuds. Lors de la mise sous tension du système, allumez d’abord le nœud B, puis allumez le nœud A. Pour plus d’informations, voir Cheminement des câbles d’adaptateur PCIe.