ウォーター・ループをトレイに取り付けるには、以下の情報を参照してください。
このタスクについて
S038
この手順では、目を保護する防具を装着する必要があります。
S040
S042
危険
本製品に含まれる水または水溶液による感電のリスクがあります。濡れた手で、または水がこぼれた状態で、通電している機器の上や近くで作業しないでください。
ギャップ・パッドの交換に関するガイドラインギャップ・パッドの位置と手順については、ギャップ・パッドの識別と位置を参照してください。
ギャップ・パッドを交換する前に、アルコール・クリーニング・パッドで表面を慎重にクリーニングします。
ギャップ・パッドは、変形しないように慎重に持ってください。ねじ穴や開口部がギャップ・パッドの素材によってふさがれていないことを確認します。
安全に作業を行うために、取り付けのガイドラインおよび 安全検査のチェックリストをお読みください。
タスクを実行しようとしている対応する DWC トレイの電源をオフにします。
エンクロージャーからすべての外部ケーブルを切り離します。
QSFP ケーブルがソリューションに接続されている場合、余分な力をかけてケーブルを取り外します。
ウォーター・ループの損傷を避けるために、ウォーター・ループの取り外し、取り付け、または折り畳みを行うときは、必ずウォーター・ループ・キャリアを使用してください。
トルク・ドライバーが手元にない場合はリクエストすることができます。
手順
すべてのメモリー・モジュール・コネクターの保持クリップがロック位置にあることを確認します。
- パッケージ・ボックスを開けて、ウォーター・ループから保護カバーを取り外します。
ウォーター・ループからフォーム・カバーを取り外します。
ウォーター・ループからプラスチック・カバーを取り外します。
図 1. ウォーター・ループからの保護カバーの取り外し
- ウォーター・ループがパッケージ・ボックスに入ったままの状態で、ウォーター・ループの 6 本の T20 ねじを緩めます。
図 2. パッケージ・ボックス内のウォーター・ループからの 6 本のねじの取り外し
- プロセッサーおよびウォーター・ループ・プロセッサーのコールド・プレートの熱伝導グリースをクリーニングします。
- アルコール・クリーニング・パッドを使用して、プロセッサー上の古い熱伝導グリースとウォーター・ループ上のプロセッサー・コールド・プレートを丁寧にクリーニングします。
- プロセッサー識別ラベルをウォーター・ループから取り外し、交換用プロセッサーに付属する新しいラベルと交換します。ラベルを取り外して新しいウォーター・ループに配置できない場合、または輸送時にラベルが損傷した場合、ラベルは油性マーカーを使用して配置されるため、新しいウォーター・ループの同じ場所あるプロセッサー ID ラベルからのプロセッサーのシリアル番号を書き留めます。
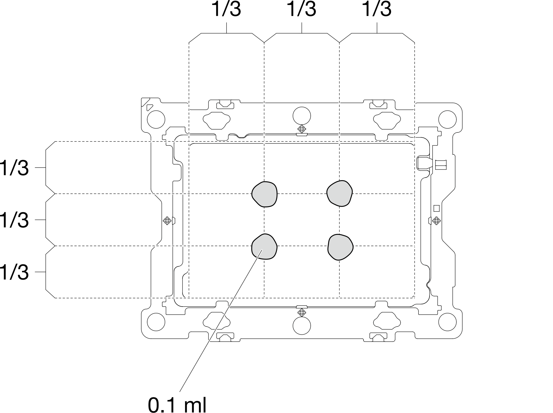
- 注射器を使用してプロセッサーの上部に熱伝導グリースを塗布します。等間隔で 4 つの点を描くようにし、それぞれの点が熱伝導グリース約 0.1 ml です。
プロセッサーの接点側を下にして、慎重にプロセッサーおよび保持器具を平らな面に置きます。
図 3. 熱伝導グリースの塗布
- 必要に応じて、プロセッサーにプロセッサー保持器具を取り付けます。
- プロセッサー保持器具の三角マークを、プロセッサーの角の端にある三角形のマークに合わせます。
- プロセッサーの上にプロセッサー保持器具を静かに置きます。プロセッサー保持器具の 4 つの側面をゆっくり押して、プロセッサーを固定します。
図 4. プロセッサー保持器具の取り付け
- ウォーター・ループがまだパッケージ・ボックスに入っている間に、プロセッサーをウォーター・ループに取り付けます。
- プロセッサー保持器具の三角マークをウォーター・ループの冷却プレートの下面の三角スロットに合わせます。プロセッサー保持器具のポストとクリップを冷却プレートの四隅の開口部に挿入して、プロセッサーをウォーター・ループの冷却プレートの下面に取り付けます。
図 5. プロセッサーのウォーター・ループへの取り付け
- すべての反傾斜ワイヤー・ベイル (ノードあたり 8 個の反傾斜ワイヤー・ベイル) をロック解除位置まで外側に回転します。
図 6. Torx T30 拘束ねじのロック解除
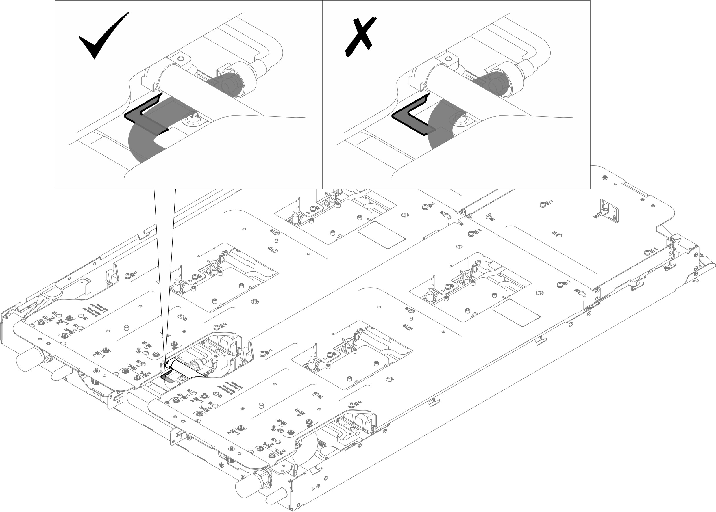
- パッケージ・ボックスからウォーター・ループを取り外します。必ず、以下の図においてグレーでマークされたタッチ・ポイントを持ってください。
タッチ・ポイント以外の場所でウォーター・ループを保持すると、ウォーター・ループが損傷する可能性があります。
図 7. パッケージ・ボックスからウォーター・ループを取り外す場合のタッチ・ポイント| 上の画像 | ウォーター・ループの等尺図 |
| 下の画像 | ウォーター・ループの上面図 |

ウォーター・ループをトレイに取り付ける前に、ウォーター・ループを垂直に立たせたままにしてください。ウォーター・ループを水平に置いて作業面に接触させると、ギャップ・パッドが損傷する場合があります。
図 8. トレイに取り付ける前のウォーター・ループの取り扱い
- ウォーター・ループのギャップ・パッドをチェックし、破損しているパッドや取り外されているパッドがある場合は、新しいパッドと交換します。
図 9. ウォーター・ループ・ギャップ・パッドの位置
必ず、ギャップ・パッドの交換に関するガイドラインに従ってください。
- プロセッサー・ボードに取り付けられた VR コールド・プレートのギャップ・パッドを確認し、破損しているか取り外されている場合は、新しいものと交換します。
図 10. VR コールド・プレート・ギャップ・パッドの位置
必ず、ギャップ・パッドの交換に関するガイドラインに従ってください。
- ウォーター・ループを右側のノードに取り付けます (トレイの前面から見た場合)。
ウォーター・ループを両手で慎重に持ち、裏返します。
(トレイの前面から見た場合) 右側のノードの 3 つのガイド・ピンにウォーター・ループをゆっくり置きます。次に、ウォーター・ループをゆっくり下げ、システム・ボードにしっかりと固定されていることを確認します。図 11. 右側のノードへのウォーター・ループの取り付け
- クイック・コネクト・スロットの近くにあるガイド・ピンが正しく取り付けられていることを確認します。正しく取り付けられている場合、ガイド・ピンはガイド穴を通して挿入され、見えるはずです。正しく取り付けられていないと、ガイド・ピンが見えず、ウォーター・ループがトレイの上にわずかに浮いています。
図 12. ガイド・ピン取り付け結果の確認
ガイド・ピンが正しく取り付けられていない場合は、ウォーター・ループを押し下げます。
ガイドピンをガイド穴に挿入する必要があります。
図 13. 正しく取り付けられていないガイドピンの修正
- ウォーター・ループ・キャリアの両端にある 2 つの拘束つまみねじを完全に緩めます。
図 14. 拘束つまみねじを緩める
- ウォーター・ループから 6 本の T20 ねじを取り外します。
図 15. ウォーター・ループからの 6 本のねじの取り外し
- 手順 4 から手順 5 を繰り返し、ウォーター・ループの反対側にプロセッサーを取り付けます。
- ウォーター・ループのギャップ・パッドをチェックし、破損しているパッドや取り外されているパッドがある場合は、新しいパッドと交換します。
図 16. ウォーター・ループ・ギャップ・パッドの位置
必ず、ギャップ・パッドの交換に関するガイドラインに従ってください。
- プロセッサー・ボードに取り付けられた VR コールド・プレートのギャップ・パッドを確認し、破損しているか取り外されている場合は、新しいものと交換します。
図 17. VR コールド・プレート・ギャップ・パッドの位置
必ず、ギャップ・パッドの交換に関するガイドラインに従ってください。
- 図に示すように、ウォーター・ループの反対側を広げて取り付けます。
図 18. ウォーター・ループを広げる
- ウォーター・ループからサポート・プレートを取り外します。
図 19. ウォーター・ループからサポート・プレートを取り外します
- クイック・コネクト・スロットの近くにあるガイド・ピンが正しく取り付けられていることを確認します。正しく取り付けられている場合、ガイド・ピンはガイド穴を通して挿入され、見えるはずです。正しく取り付けられていないと、ガイド・ピンが見えず、ウォーター・ループがトレイの上にわずかに浮いています。
図 20. ガイド・ピン取り付け結果の確認
ガイド・ピンが正しく取り付けられていない場合は、ウォーター・ループを押し下げます。
ガイドピンをガイド穴に挿入する必要があります。
図 21. 正しく取り付けられていないガイドピンの修正
- 配送用ブラケットのねじ穴を通してミキシング・チャンバーをトレイに固定するねじを取り付けます。
右側のノード (トレイの前面から見た場合) の配送用ブラケットのねじ穴の位置を確認します。図 22. 配送用ブラケットのミキシング・チャンバーのねじ穴の位置
2 つの水管が層になっているねじ穴の下のスペースを検査します。上部チューブには金属クリップがあります。下部チューブは金属クリップに接触しないようにしてください。下部チューブが金属クリップから外れるまで、下部チューブを調整します。図 23. 下部チューブを調整して、金属クリップに接触しないようにします
PDB コールド・プレートには L 字型の傾斜部分があり、下部チューブのスペースを確保しています。L 字型の傾斜部分は、以下の図で指定されています。下部チューブを必ず傾斜部分内に収めてください。
図 24. 下部チューブを PDB コールド・プレート上の傾斜内に保持する
下部チューブが上部チューブの金属クリップに接触しないようにすると同時に、配送用ブラケットのねじ穴にねじを取り付けて、ミキシング・チャンバーをトレイに固定します。参考までに、ねじを完全に締める/取り外すために必要なトルクは 5.0+/- 0.5 lbf-in、0.55+/- 0.05 N-M です。
図 25. ミキシング・チャンバーを固定するためのねじの取り付け
- 反傾斜ワイヤー・ベイル (2 つのノードに対して 16 個の反傾斜ワイヤー・ベイル) をロック位置まで外側に回転します。
図 26. 反傾斜ワイヤー・ベイルのロック解除
- ウォーター・ループ・キャリアの ねじを緩めます (2 つのノードに対して 28 本の プラス #2 ねじ)。
参考までに、ねじを完全に締める/取り外すために必要なトルクは 5.0+/- 0.5 lbf-in、0.55+/- 0.05 N-M です。
図 27. ウォーター・ループ・キャリアのねじを緩める
- それぞれのウォーター・ループ・キャリアを慎重に上に持ち上げ、ウォーター・ループから一度に 1 つずつ離します。
図 28. ウォーター・ループ・キャリアの取り外し
- ウォーター・ループから発泡スチロール保護パッケージを取り外します。
図 29. 発泡スチロールパッケージの取り外し
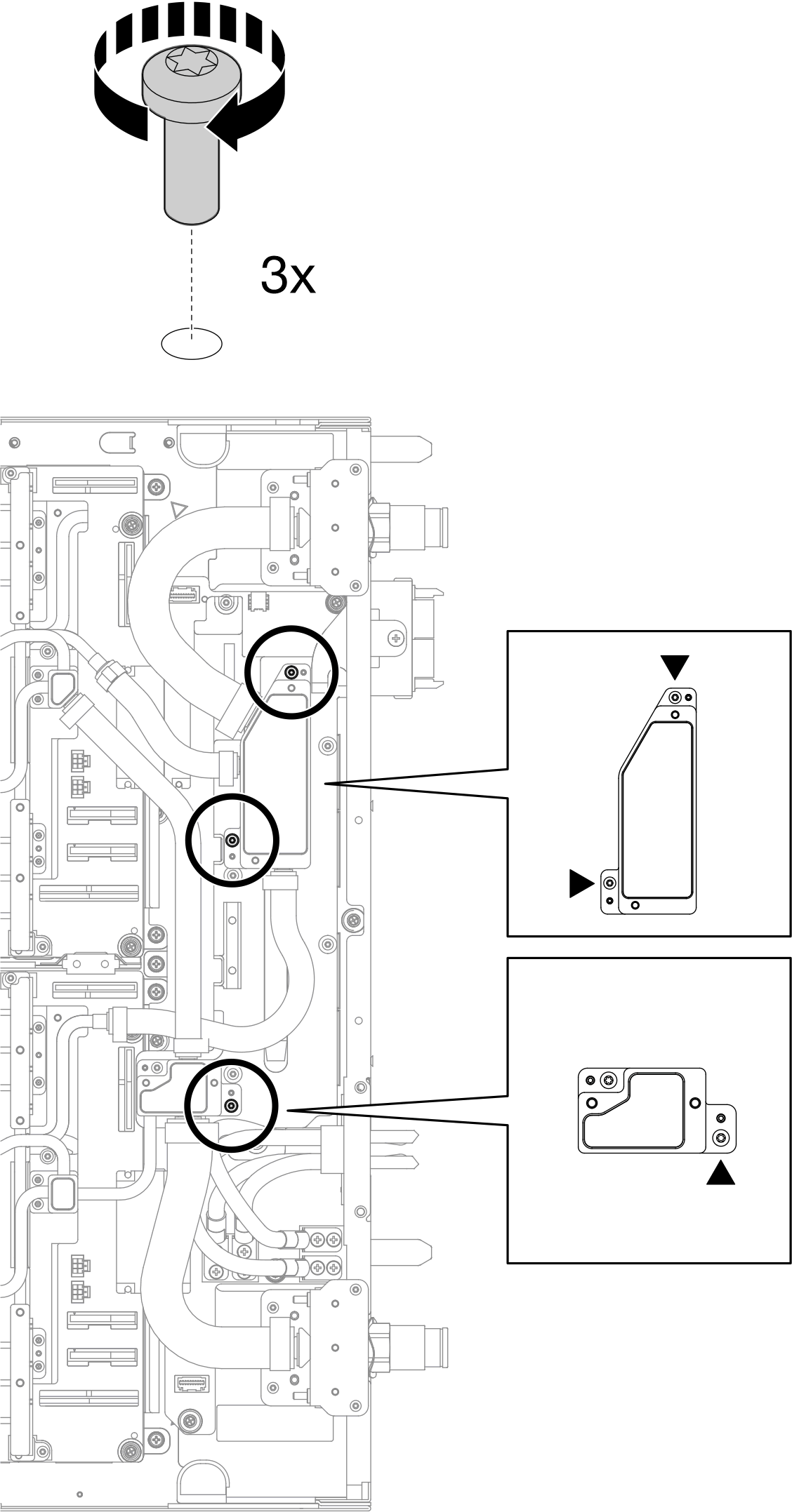
- トルク・ドライバーを適切なトルクに設定し、配送用ブラケットのねじの順序ラベルに従って、すべての Torx T30 拘束ねじ (2 つのノードに対して 16 本の Torx T30 拘束ねじ) を完全に締め付けます。
図 30. 配送用ブラケット・ラベルのねじの締め付け/緩め順序
図 31. Torx T30 拘束ねじの締め付け
- トルク・ドライバーを適切なトルクに設定し、ウォーター・ループのねじ (ノードあたり 18 本の Torx T10 ねじ) を取り付けます。
参考までに、ねじを完全に締める/取り外すために必要なトルクは 5.0+/- 0.5 lbf-in、0.55+/- 0.05 N-M です。
図 32. ウォーター・ループのねじの取り付け
- 3 本の Torx T10 ねじを取り付け、適切なトルクに設定されたトルク・ドライバーでミキシング・チャンバーを分電盤コールド・プレートに固定します。
参考までに、ねじを完全に締める/取り外すために必要なトルクは 5.0+/- 0.5 lbf-in、0.55+/- 0.05 N-M です。
図 33. ミキシング・チャンバーのねじの取り付け
- 図に示されているねじの取り付け順序に従い、8 本の Torx T10 ねじを取り付けて 2 つのクイック・コネクトをトレイに固定します (各クイック・コネクトに 4 本のねじ)。
参考までに、ねじを完全に締める/取り外すために必要なトルクは 5.0+/- 0.5 lbf-in、0.55+/- 0.05 N-M です。
図 34. クイック・コネクトのねじの取り付け
- クイック・コネクトからカバーを取り外します。
図 35. クイック・コネクト・カバーの取り外し
- 2 本の T10 ねじを取り付けて、ウォーター・ループに VR カバーを取り付けます。必ず、ウォーター・ループに 2 つの VR カバーを取り付けてください (ノードごとに 1 つの VR カバー)。
図 36. VR カバーの取り付け
- E3.S ミドル・コールド・プレートの上面にあるギャップ・パッドを確認します。破損しているか取り外されている場合、新しいものと交換します。
図 37. E3.S ミドル・コールド・プレート上面のギャップ・パッドの位置
必ず、ギャップ・パッドの交換に関するガイドラインに従ってください。
- E3.S ミドル・コールド・プレート a の底面にある使い捨てギャップ・パッドを新しいものと交換します。
図 38. E3.S ミドル・コールド・プレートの底面にある使い捨てギャップ・パッドの位置
必ず、ギャップ・パッドの交換に関するガイドラインに従ってください。
- 4 本の PH1 ねじを取り付け、中央ドライブ・コールド・プレートをウォーター・ループに取り付けます。必ず
TOP
マークがトレイの背面を向いていることを確認します。図 39. 中央ドライブ・コールド・プレートの取り付け
完了したら漏水センサーを取り付けます。漏水センサーの取り付けを参照してください。
側波帯ケーブル・キットを取り付けます。システム管理側波帯ケーブル・キットの取り付けを参照してください。
中央 E3.S ドライブ・ケージを取り付けます。E3.S 1T 中央ドライブ・ケージ・アセンブリーの取り付けを参照してください。
- PCIe アダプター・ライザー・ケージを取り付けます。ConnectX-7 NDR 200 アダプター・ライザー・アセンブリーの取り付けまたはConnectX-7 NDR 400 アダプター・ライザー・アセンブリーの取り付けを参照してください。
前面 E3.S ドライブ・ケージを取り付けます。E3.S 前面ドライブ・ケージ・アセンブリーの取り付けを参照してください。
両面冷却が必要なメモリー・モジュールをシステムに取り付ける場合、DIMM 冷却バーを取り付けます。DIMM 冷却バーの取り付けを参照してください。
クロス・ブレースを取り付けます。クロス・ブレースの取り付けを参照してください。
メモリー・モジュールを取り付けるには、以下のいずれかを実行します。
DIMM の組み合わせを取り付けます。DIMM コームの取り付けを参照してください。
トレイ・カバーを取り付けます。トレイ・カバーの取り付けを参照してください。
エンクロージャーにトレイを取り付けます。エンクロージャーへのトレイの取り付けを参照してください。
必要なすべての外部ケーブルをソリューションに接続します。
余分な力をかけて QSFP ケーブルをソリューションに接続します。
各ノードの電源 LED をチェックし、高速の点滅から低速の点滅に変わり、すべてのノードの電源をオンにする準備ができていることを示していることを確認します。
共有 I/O 構成では、ノードの特定の電源オン順序に従う必要があります。システムの電源をオンにするときは、まずノード B の電源をオンにしてから、ノード A の電源をオンにします。詳細については、PCIe アダプターのケーブル配線を参照してください。