워터 루프 설치
다음 정보를 사용하여 트레이에 워터 루프를 설치하십시오.
이 작업 정보
PH 1, PH 2, T10, T20 및 T30 나사용 드라이버
Waterloop Service Kit (SC750 V4) (서비스 키트의 워터 루프 캐리어는 재사용할 수 있으므로, 향후 교체가 필요할 때를 대비하여 서버가 운영되는 시설에 보관하는 것이 좋습니다.)
Up VR Gap Pad Kit (SC750 V4)
MID E3.S TOP Gap Pad (SC750 V4) - E3.S 중간 드라이브가 설치된 경우.
MID E3.S BOT Gap Pad (SC750 V4) - E3.S 중간 드라이브가 설치된 경우.
Storage Gap Pad Kit (SC750 V4) - E3.S 앞면 드라이브가 설치된 경우.
Storage Gap Pad Kit (SC750 V4) - E3.S 1T 듀얼 앞면 드라이브 또는 E3. S 2T 싱글 앞면 드라이브가 설치된 경우.
CX7 NDR200 Gap Pad (SC750 V4) - ConnectX-7 NDR 200 어댑터가 설치된 경우.
CX7 Gap Pad (SC750 V4) - ConnectX-7 NDR 400 어댑터가 설치된 경우.



갭 패드 위치 및 지침은 갭 패드 식별 및 위치의 내용을 참조하십시오.
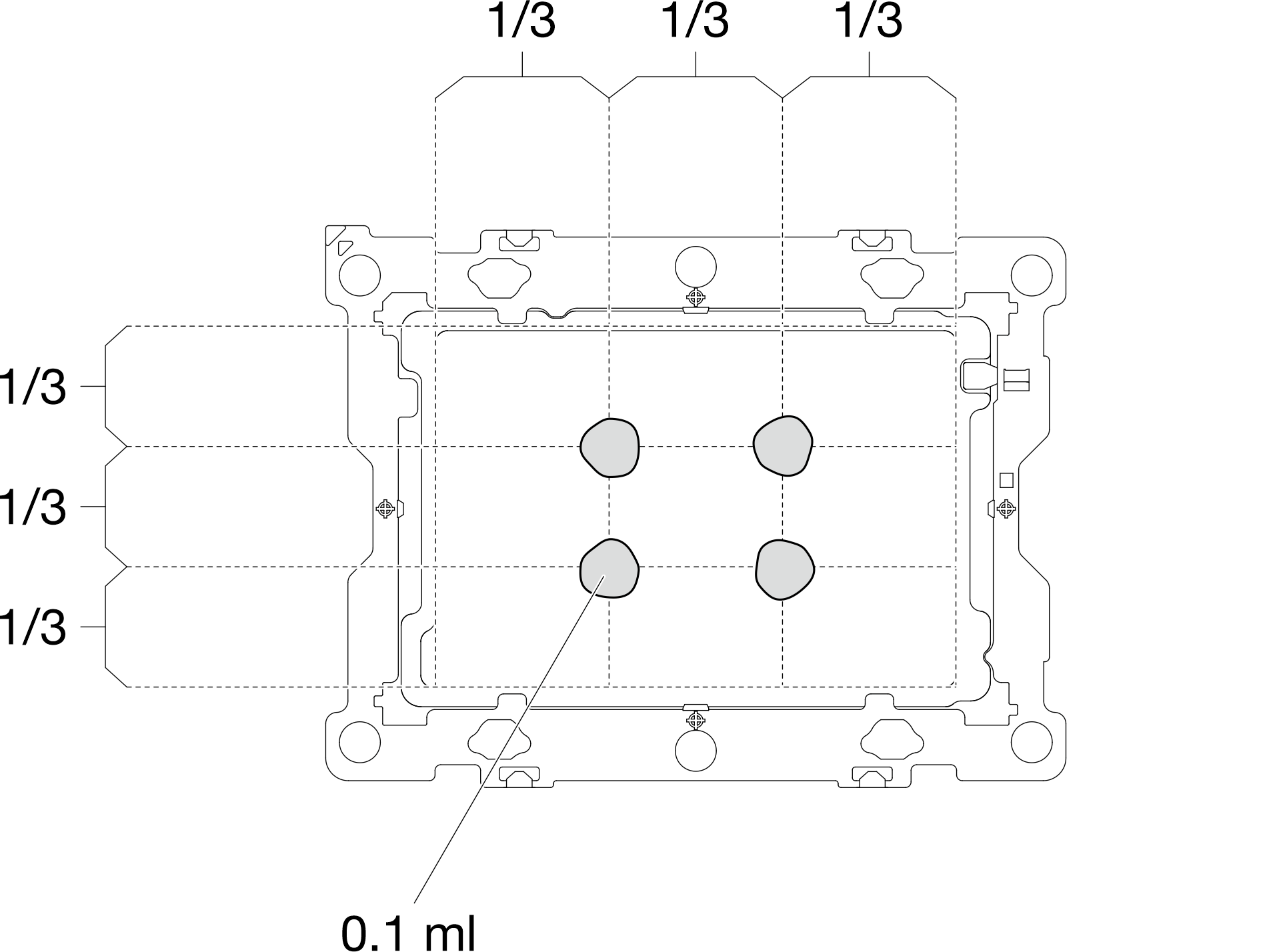
갭 패드를 교체하기 전에 표면을 알코올 청소 패드로 부드럽게 닦으십시오.
변형을 방지하기 위해 갭 패드를 조심스럽게 잡으십시오. 나사 구멍이나 개구부가 갭 패드 재질로 막혀 있지 않은지 확인하십시오.
- 이 절차의 비디오는 YouTube에서 볼 수 있습니다.
절차
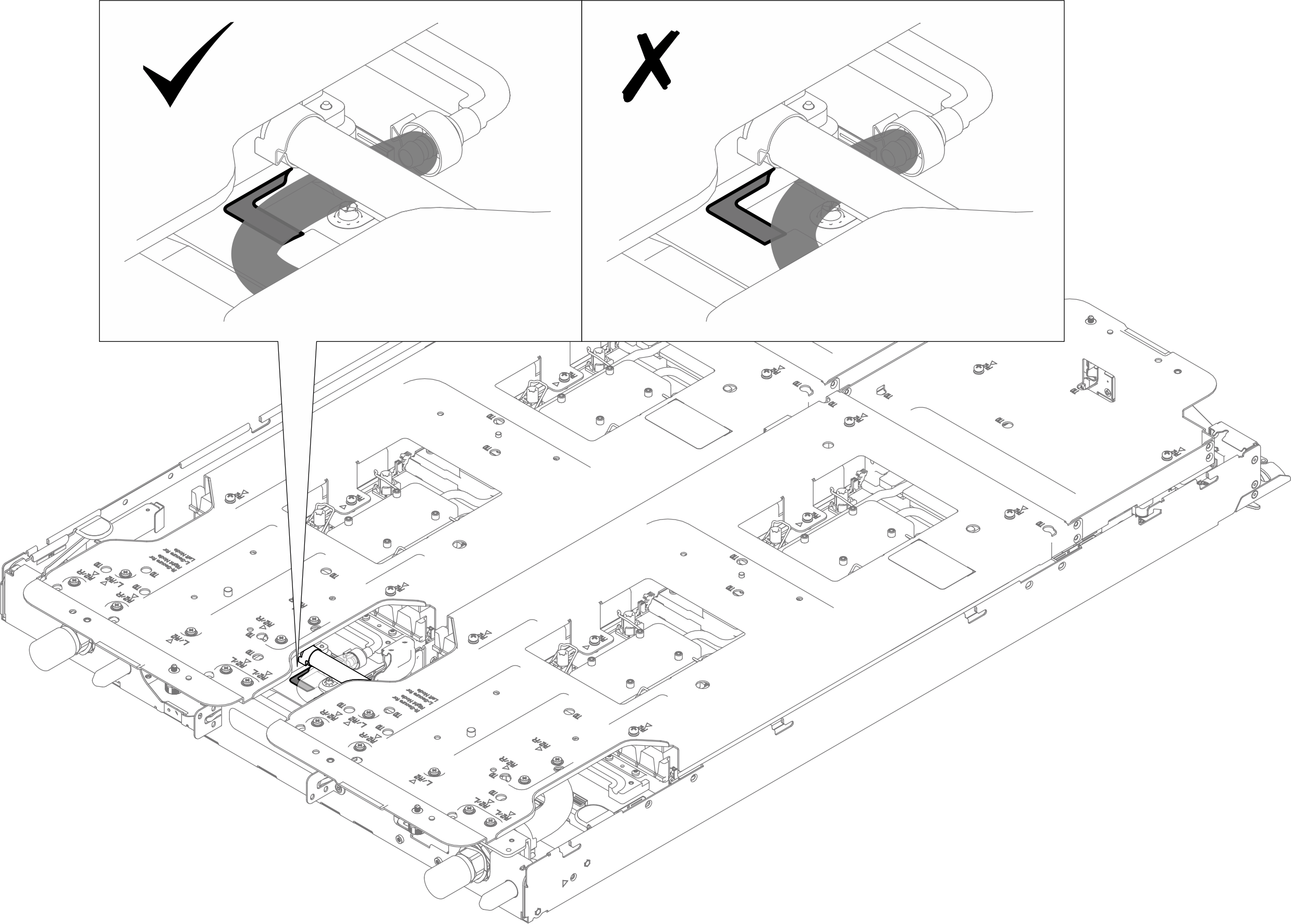
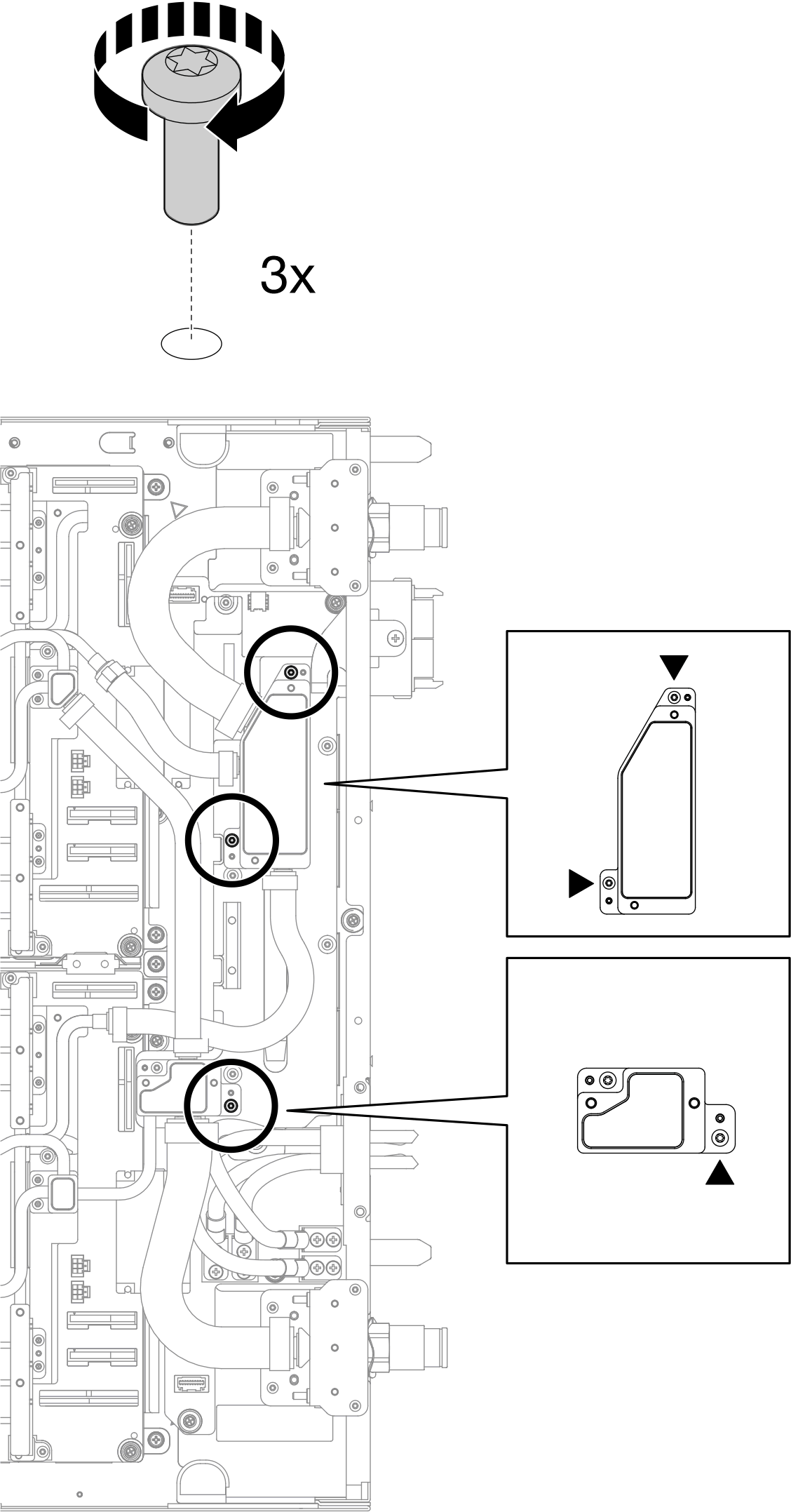
갭 패드 교체 지침을 따르십시오.
갭 패드 교체 지침을 따르십시오.
갭 패드 교체 지침을 따르십시오.
갭 패드 교체 지침을 따르십시오.
갭 패드 교체 지침을 따르십시오.
갭 패드 교체 지침을 따르십시오.
누수 센서를 설치합니다. 누수 센서 설치의 내용을 참조하십시오.
사이드밴드 케이블 키트를 설치합니다. 시스템 관리 사이드밴드 케이블 키트 설치의 내용을 참조하십시오.
중간 E3.S 드라이브 케이지를 설치합니다. E3.S 1T 중간 드라이브 케이지 어셈블리 설치의 내용을 참조하십시오.
- PCIe 어댑터 라이저 케이지를 설치합니다. ConnectX-7 NDR 200 어댑터 라이저 어셈블리 설치 또는 ConnectX-7 NDR 400 어댑터 라이저 어셈블리 설치의 내용을 참조하십시오.
앞면 E3.S 드라이브 케이지를 설치합니다. E3.S 앞면 드라이브 케이지 어셈블리 설치의 내용을 참조하십시오.
시스템을 양면 냉각이 필요한 메모리 모듈과 함께 설치할 경우 DIMM 냉각 막대를 설치하십시오. DIMM 냉각 바 설치의 내용을 참조하십시오.
십자형 브레이스를 설치하십시오. 십자형 브레이스 설치의 내용을 참조하십시오.
메모리 모듈을 설치하고 다음 중 하나를 수행하십시오.
단면 냉각이 필요한 메모리 모듈을 설치하십시오. 메모리 모듈(단면 냉각) 설치의 내용을 참조하십시오. 또는
양면 냉각이 필요한 메모리 모듈을 설치하십시오. 메모리 모듈(양면 냉각) 설치의 내용을 참조하십시오.
DIMM 콤을 설치하십시오. DIMM 콤 설치의 내용을 참조하십시오.
트레이 덮개를 설치하십시오. 트레이 덮개 설치의 내용을 참조하십시오.
엔클로저에 트레이를 설치하십시오. 엔클로저에 트레이 설치의 내용을 참조하십시오.
- 필요한 모든 외부 케이블을 솔루션에 연결하십시오.주QSFP 케이블을 솔루션에 추가로 연결하십시오.
- 각 노드의 전원 LED가 빠르게 깜박이다가 느려지는지 확인하십시오. 이는 모든 노드의 전원을 켤 준비가 되었음을 나타냅니다.주
공유 I/O 구성에는 특정 노드의 전원 켜기 순서가 필요합니다. 시스템 전원을 켤 때는 노드 B를 먼저 켠 다음 노드 A를 켭니다. 자세한 내용은 PCIe 어댑터 케이블 배선을 참조하십시오.







































